垃圾焚烧炉结构

旅游区环境保护少不了这款垃圾焚烧炉
图片尺寸600x400
一种小型无烟垃圾焚烧炉-爱企查
图片尺寸1534x1767
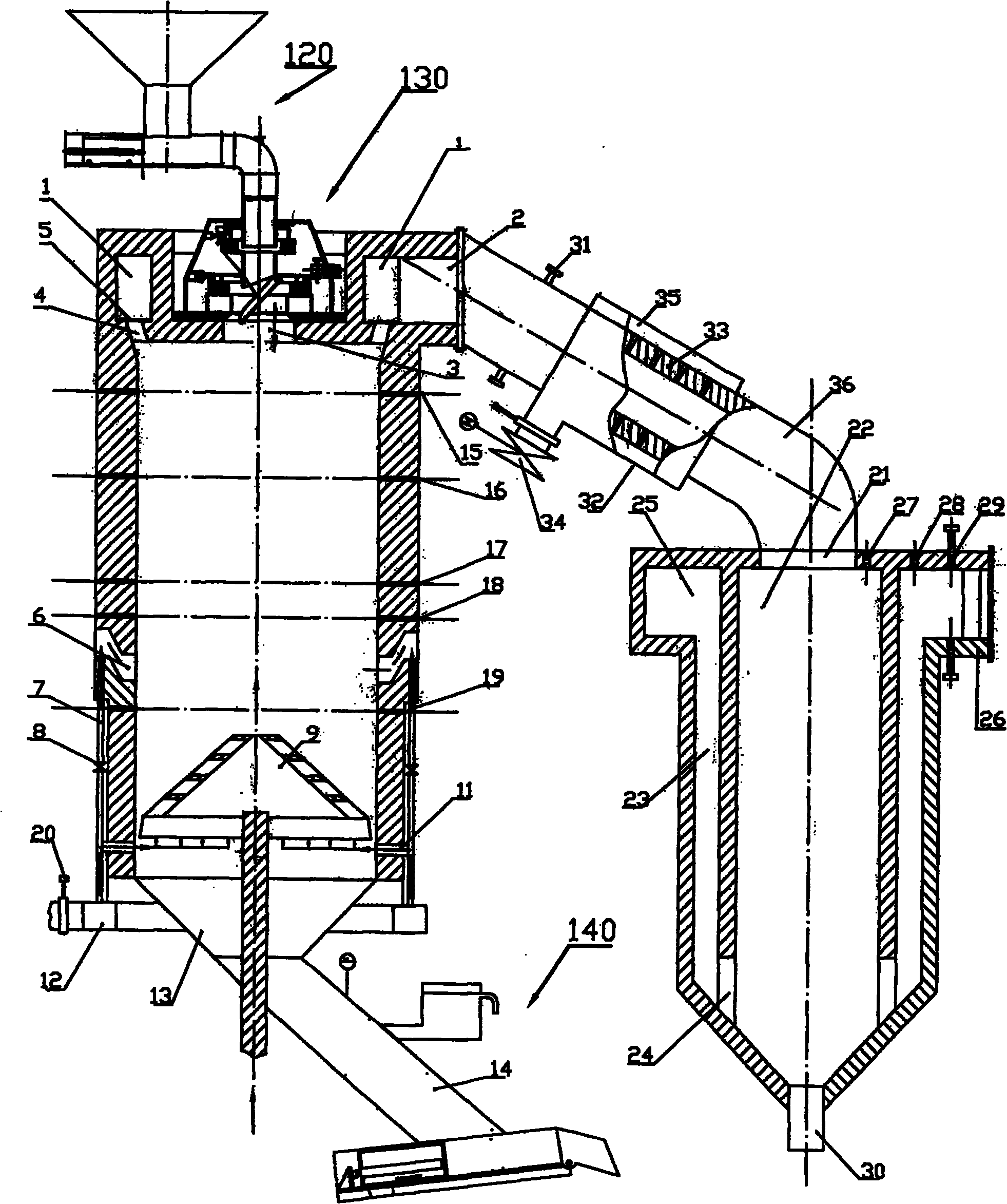
摘要附图摘要本发明公开了一种医疗垃圾焚烧炉,包括立式圆筒形结构的
图片尺寸1455x1990
医疗垃圾焚烧炉图纸
图片尺寸800x496
直燃式垃圾焚烧炉
图片尺寸1040x2008
生活垃圾焚烧炉
图片尺寸960x832
一种新型垃圾焚烧炉-爱企查
图片尺寸1972x2445
一种立式垃圾焚烧锅炉-爱企查
图片尺寸1866x1960
回转窑式焚烧炉炉体为采用耐火砖或水冷壁炉墙的圆柱形滚筒,是通过炉
图片尺寸640x483
焚烧用的垃圾焚烧炉种类及特点
图片尺寸640x339
炉排式垃圾焚烧炉燃烧室的构造
图片尺寸612x437
cn209165414u_大型垃圾焚烧炉有效
图片尺寸951x1000
你所不知道的3大工业垃圾焚烧炉炉型及工作原理图
图片尺寸387x520
垃圾焚烧炉结构原理
图片尺寸1024x643
绿保牌自燃式生活垃圾热解炉一代生活垃圾焚烧炉
图片尺寸638x671
烟气净化内置式垃圾焚烧锅炉的制作方法
图片尺寸976x1000
垃圾焚烧都这样了,还看不懂焚烧炉我也就没辙了!
图片尺寸602x709
cn101165403b_立式生活垃圾焚烧炉失效
图片尺寸1962x2345
常见的垃圾焚烧炉都有哪些?都有什么区别?
图片尺寸898x526
旋转窑垃圾焚烧炉
图片尺寸668x405