埋弧焊焊剂垫

焊接陶瓷垫
图片尺寸400x400
此焊剂垫的焊剂盘相对筒体
图片尺寸330x422
软管式焊剂垫:软管式焊剂垫适用于长焊缝的焊接,其结构形式入下图所示
图片尺寸460x295
焊接辅助设备衬垫
图片尺寸360x417
0成交0公斤古月埋弧焊粉焊剂hj431 8-16目 广东广州现货批发焊接材料
图片尺寸1200x1200
焊接陶瓷垫
图片尺寸750x750
焊接衬垫的作用就是 埋弧焊时焊剂垫的作用?
图片尺寸600x400
埋弧焊工艺对接接头的双面焊接
图片尺寸270x416
sj701烧结焊剂/耐磨堆焊焊剂/堆焊焊剂
图片尺寸573x316
gb52931999t埋弧焊用碳钢焊丝和焊剂
图片尺寸920x1302
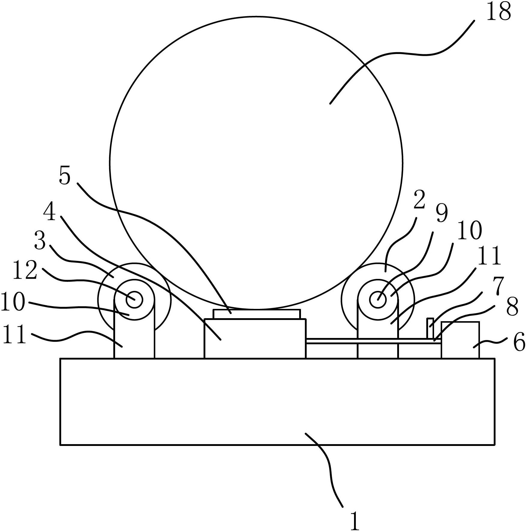
一种埋弧焊的气囊焊剂垫结构-爱企查
图片尺寸1758x1774
一种埋弧焊用焊剂垫装置
图片尺寸1000x777
按焊接方法分类可分为埋弧焊焊剂,堆焊焊剂和电渣焊焊剂.
图片尺寸1440x1080
埋弧焊工艺对接接头的双面焊接
图片尺寸500x339
埋弧焊的工艺特点
图片尺寸241x202
为什么埋弧焊焊剂堆高越高焊缝越宽
图片尺寸640x328
批发出售高性能助焊剂 长期批发sj102烧结型焊剂 不锈钢焊剂
图片尺寸800x800
4-充气软管 5-橡皮膜 6-压板 7-气室表4-42 预留间隙双面埋弧自动焊
图片尺寸894x406
接地夹通过连接线与电焊机上接地夹连接孔进行连接;将焊件放置到焊剂
图片尺寸4008x1896
埋弧焊用焊剂的制作方法
图片尺寸1000x464