培土简笔画

小种植简笔画
图片尺寸750x500
用塑料袋装着植物幼苗的土壤堆
图片尺寸1200x912
土壤简笔画 - 简单简笔画
图片尺寸441x240
参加领养树的活动,在树上挂一个小牌,写上你的名字,定期给它浇水,培土
图片尺寸650x651
培土简笔画
图片尺寸500x500
植物在土壤孤立轮廓图标园艺和
图片尺寸1100x1100
简笔画花盆里发芽
图片尺寸685x449
土培简笔画
图片尺寸500x333
温暖湿润的土壤简笔画
图片尺寸800x450
种子在泥土里的简笔画
图片尺寸500x550
培土压条
图片尺寸668x899
忙碌而充实的四月——大七班四月工作总结
图片尺寸2151x1612
土培植物简笔画图片
图片尺寸685x500
多肉植物种植知识之生长期的管理
图片尺寸482x281
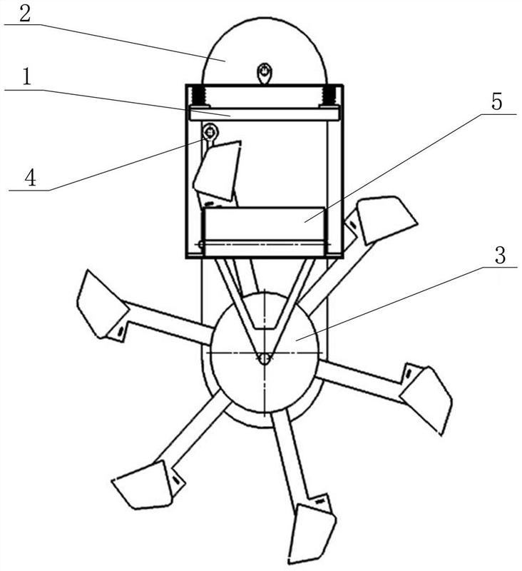
一种烟株培土装置-爱企查
图片尺寸1369x1398
武机幼教育集团|今日宅家课程推荐:有你,真好——播种春天,收获希望
图片尺寸792x365
豆芽简笔画教程 豆芽简笔画步骤
图片尺寸800x450
萌芽 土壤插画图片_萌芽 土壤插图_插画图片素材库-veer图库
图片尺寸612x612
漂亮的小盆栽简笔画图片3
图片尺寸720x480
一种甘蔗苗培土机构-爱企查
图片尺寸732x800