基坑换撑施工图解

深基坑工程中短斜钢支撑换撑施工技术
图片尺寸660x607
基坑换撑及内支撑拆除施工工艺卡,收藏学习!
图片尺寸634x529![[浙江]深基坑土钉墙以及悬臂排桩支护施工方案(专家论证)](https://i.ecywang.com/upload/1/img1.baidu.com/it/u=1955622147,2826714229&fm=253&fmt=auto&app=138&f=JPEG?w=417&h=560)
[浙江]深基坑土钉墙以及悬臂排桩支护施工方案(专家论证)
图片尺寸417x560![[浙江]体育场深基坑土方开挖施工方案(附图丰富)](https://i.ecywang.com/upload/1/img2.baidu.com/it/u=128471688,2431954884&fm=253&fmt=auto&app=138&f=JPEG?w=560&h=415)
[浙江]体育场深基坑土方开挖施工方案(附图丰富)
图片尺寸560x415
基坑工程内支撑系统的设计与施工
图片尺寸727x516
分析深基坑梁式换撑施工技术工艺
图片尺寸646x645
目录: 1 土方施工准备工作 2 开挖的一般要求 3 浅基坑,槽和管沟开挖
图片尺寸637x558
第七节基坑支护拆换撑方案
图片尺寸300x424
基坑支护拆换撑施工工艺(桩承支护体系).doc
图片尺寸792x1120
软土地区深基坑工程控制拆撑变形的换撑设计
图片尺寸537x456
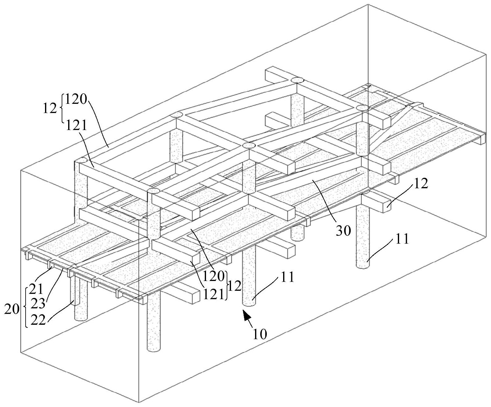
基坑内支撑的换撑施工方法
图片尺寸1592x1321
商业广场深基坑斜撑支护体系分段先拆后撑施工技术
图片尺寸560x420![[分享]基坑钢结构支撑体系设计中日对比](https://i.ecywang.com/upload/1/img2.baidu.com/it/u=2714924798,1693500220&fm=253&fmt=auto&app=138&f=JPEG?w=622&h=414)
[分享]基坑钢结构支撑体系设计中日对比
图片尺寸622x414
建筑基坑钢支撑如何施工一个实际案例让你秒懂
图片尺寸663x560
深基坑工具式换撑体系施工工法
图片尺寸760x598
基坑换撑及内支撑拆除施工工艺卡,收藏学习!_进行_结构_要求
图片尺寸631x435
基坑工程内支撑系统的设计计算
图片尺寸416x302
基坑换撑及内支撑拆除施工工艺卡,收藏学习!
图片尺寸635x579
一种超大深基坑换撑回填结构及施工方法与流程
图片尺寸1000x826![[方案][湖南]名企编制菱形立交下穿通道及泵站深基坑专项施工方案126](https://i.ecywang.com/upload/1/img1.baidu.com/it/u=3687487434,3947233055&fm=253&fmt=auto&app=138&f=JPEG?w=500&h=315)
[方案][湖南]名企编制菱形立交下穿通道及泵站深基坑专项施工方案126
图片尺寸560x353