基坑阳角示意图

2. 阳角
图片尺寸640x467
请问这个阳角阴角有什么区别么分别在这个板的那个地方呀
图片尺寸1241x738
请问基坑阳角是什么位置 布设测斜孔用在图中什么位置?
图片尺寸574x400
区分阳角阴角
图片尺寸1080x1920
基坑阳角
图片尺寸920x648
基坑阳角示意图
图片尺寸359x293
阴角和阳角支模 体系介绍 应用优势 所需条件 成本分析 实施要点 通病
图片尺寸1080x810
请问图上的砌筑阳角水泥浆护角怎么算
图片尺寸756x463
哪些地方是阴阳角?
图片尺寸458x234
台阶坡面角:台阶坡面与水平面的夹角.
图片尺寸1080x810
石材阳角的收口方法,值得学习!
图片尺寸440x440
阴角和阳角的区分
图片尺寸920x1302
这些地方是板阳角放射筋还是阴角放射筋啊
图片尺寸753x394
老师是不是砖胎膜不管是阴角还是阳角都是要贴附加层的
图片尺寸777x546
基坑周边中部,阳角处应布置监测点
图片尺寸849x404
阳角附加筋
图片尺寸1042x745
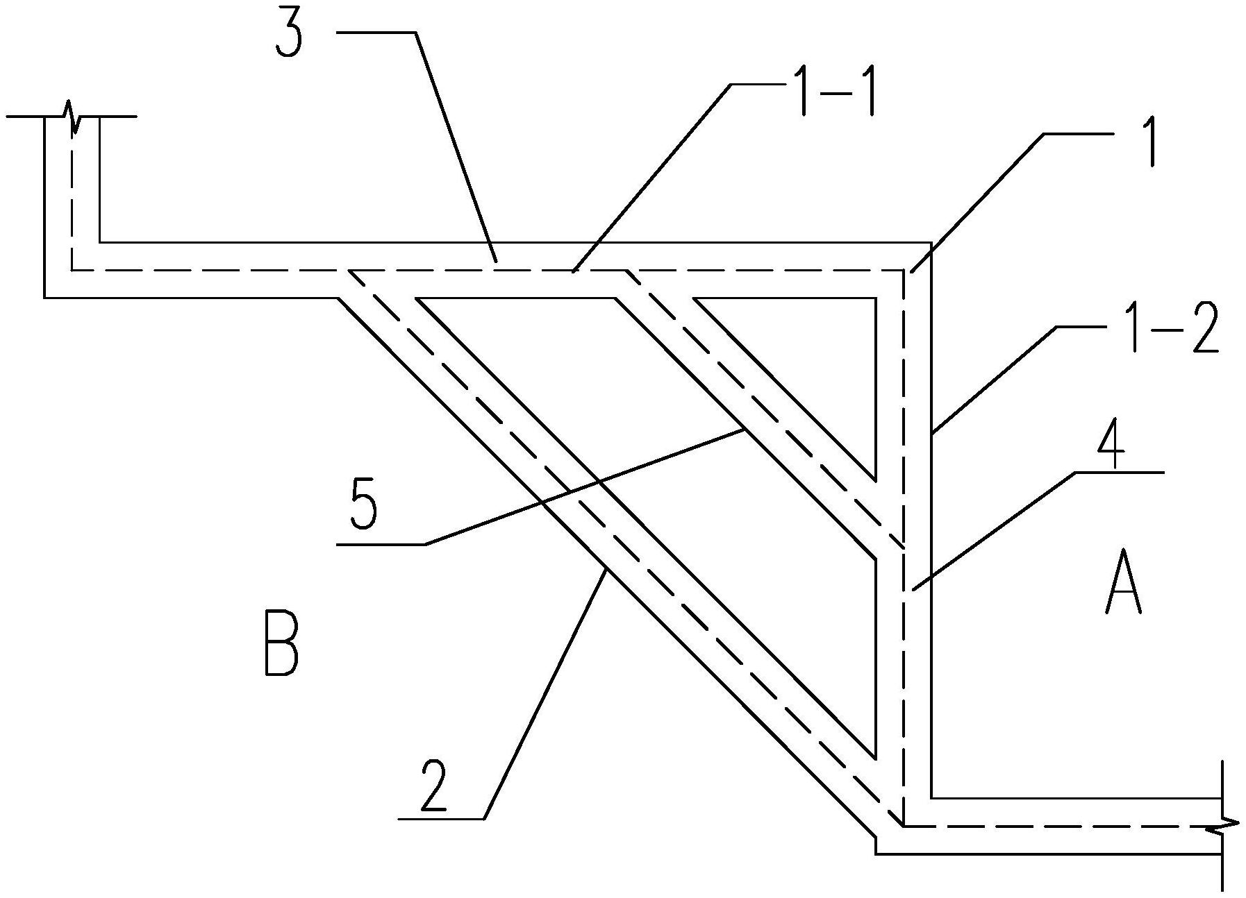
一种基坑阳角的处理结构-爱企查
图片尺寸1794x1294
楼板阴角处加密板面钢筋应该如何布筋更为准确计量
图片尺寸650x730
注意:a,由于加工及安装的限制,需现场拼接的阳角一般不采用45度斜拼
图片尺寸1080x681
一种用于基坑工程中连续多个阳角处的支护结构的制作方法
图片尺寸1000x423