基站底座

老司机带你全面认识基站和天线转发
图片尺寸600x450
风电基础底座模板 箱式配电站基础模具 结构稳定
图片尺寸290x290
topgnss基站端移动端rtk主机高精度模块接收器gnss差分gps模块
图片尺寸1000x1000
apple/苹果 airport express mc414 无线基站 亮色柔软塑料 底座
图片尺寸310x310
htcvive pro原装订墙支架万向云台全新基站底座云台壁挂万向云台
图片尺寸800x800
rtk扫平仪gps全站仪基座连接器对中器测量测绘棱镜三脚架基座基站fg01
图片尺寸750x918
新型一体化基站底座
图片尺寸1000x804
通信中修车间208基站机房整治总结
图片尺寸4032x3024
廊坊市首个5g基站开通即将步入5g时代
图片尺寸280x310
一种基站用天线底座
图片尺寸349x360
htcvive原装器底座vr感应器基站支架器墙体支架单个配件 二手基站支架
图片尺寸990x1320
电信4g基站整改 李垚杨新华
图片尺寸405x720
加快新基建筑牢成渝高质量发展数字底座中国移动助力成渝地区双城经济
图片尺寸287x431
通信中修车间216基站机房整治总结
图片尺寸4032x3024
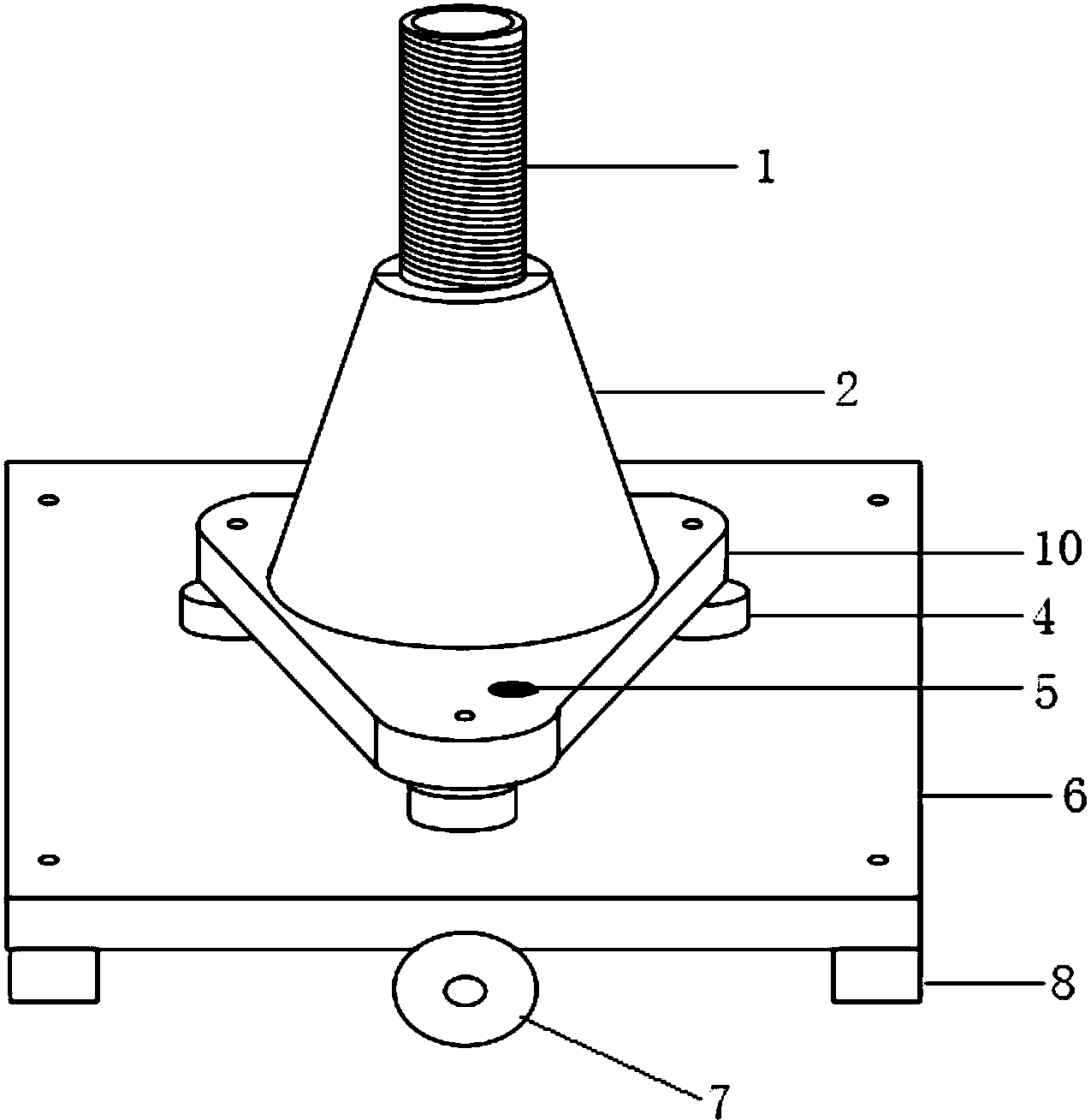
cn207353444u_一种基站用天线底座有效
图片尺寸1275x1308
底座屋顶平台立杆竖管电视天线wifi手机基站管夹
图片尺寸800x800
安阳一5g基站建在居民楼顶,为何一夜之间又拆了?
图片尺寸600x450
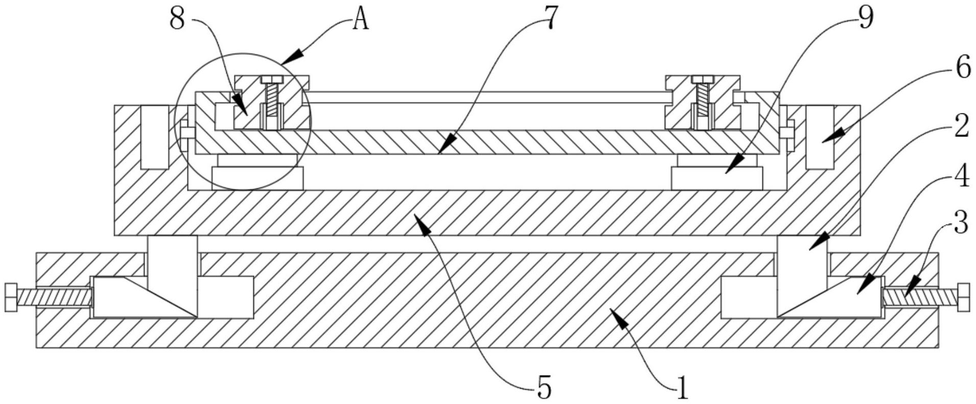
cn213028406u_一种稳定性强的通信基站用多功能安装底座
图片尺寸1910x791
合肥30米塔房一体化基站
图片尺寸400x400
原装htcvive定位器固定夹vr云台底座index基站悬挂墙uc型大开口黑色
图片尺寸990x1001