堆肥箱简笔画

cn305130179s_厨余垃圾收集堆肥桶有效
图片尺寸294x475
一种厨余垃圾堆肥桶
图片尺寸2025x2327
堆肥箱子和有机的材料照片
图片尺寸300x300
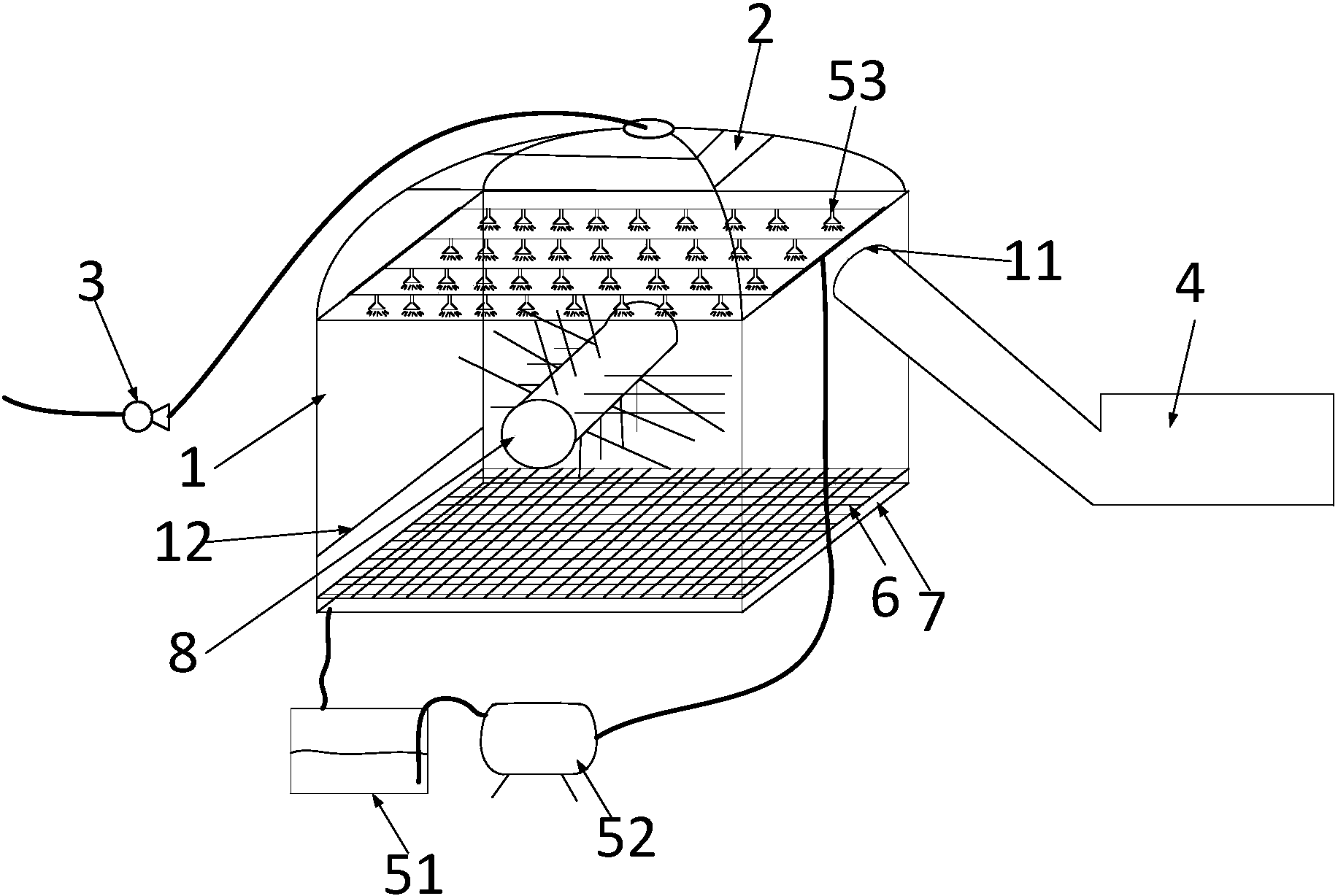
一种农用有机肥堆肥发酵箱的制作方法
图片尺寸1000x912
一种家庭厨余垃圾蚯蚓堆肥箱的制作方法
图片尺寸811x1000
一种小型家用厨余垃圾堆肥桶
图片尺寸369x444
厨余大作战变废为肥车坊实验小学堆肥实践活动
图片尺寸800x800
营养液的钱都白花了!一分钟教你简易堆肥
图片尺寸462x460
一种新型施肥箱-爱企查
图片尺寸800x442
高效垃圾堆肥桶
图片尺寸1000x813
带通风功能的垃圾堆肥桶
图片尺寸1459x1660
雨水收集厚土栽培螺旋花园堆肥箱朴门设计工作坊笔记
图片尺寸640x399
发酵堆肥桶的制作方法
图片尺寸685x1000
堆肥
图片尺寸256x256
cn202400982u_家庭厨余垃圾堆肥桶失效
图片尺寸1976x2290
食物森林有机堆肥必备土壤蠕虫塔制作一
图片尺寸500x590
自然堆肥
图片尺寸1200x727
高效垃圾堆肥桶的制作方法
图片尺寸1000x813
一种具有保温装置的堆肥桶
图片尺寸442x495
cn207259390u_一种带有除臭装置的太阳能生活垃圾堆肥房有效
图片尺寸1833x1228