塑胶模具结构图

塑胶模具的结构组成图解说明广州国际模具展览会
图片尺寸1080x637
塑胶模具结构介绍ppt
图片尺寸1080x810
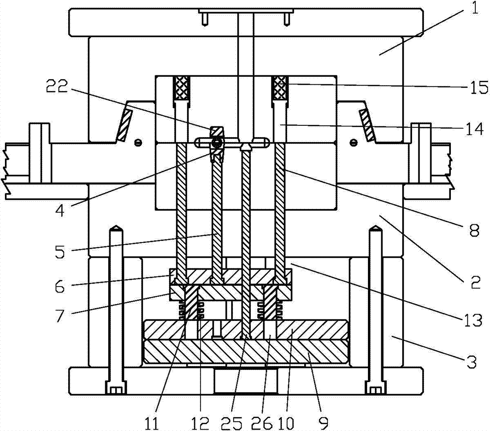
注塑模具模内自动切浇口结构
图片尺寸1000x880
注塑模具基础简介ppt
图片尺寸1080x810
塑胶模具结构详解ppt
图片尺寸1080x810
最新塑胶注塑模具基础知识讲座ppt
图片尺寸1080x810
注塑模具结构简介和分类ppt
图片尺寸1080x810
注塑模具的基本结构
图片尺寸655x988
塑料方盖注射模具设计
图片尺寸1100x778
4- 模具结构图
图片尺寸628x539
典型塑料模具设计图3例
图片尺寸3460x3579
咦芭渫妓芗-塑料件20注塑模具设计定模板定位环动模板三维内部结构
图片尺寸820x580
塑料注射(注塑)模具结构图解
图片尺寸821x587
图解塑胶模具零件名称
图片尺寸1080x810
塑料模具结构
图片尺寸400x292
注塑模具的典型结构ppt
图片尺寸1080x810
第5页 (共35页,当前第5页) 你可能喜欢 注塑模具基础知识 塑胶模具
图片尺寸1080x810
模具结构及工作原理ppt
图片尺寸1080x810
塑胶模具两板模结构介绍ppt
图片尺寸1080x810
一种一模多腔的带螺纹盖类塑件自动脱螺纹模具结构
图片尺寸2056x1699