塔吊小车 结构图

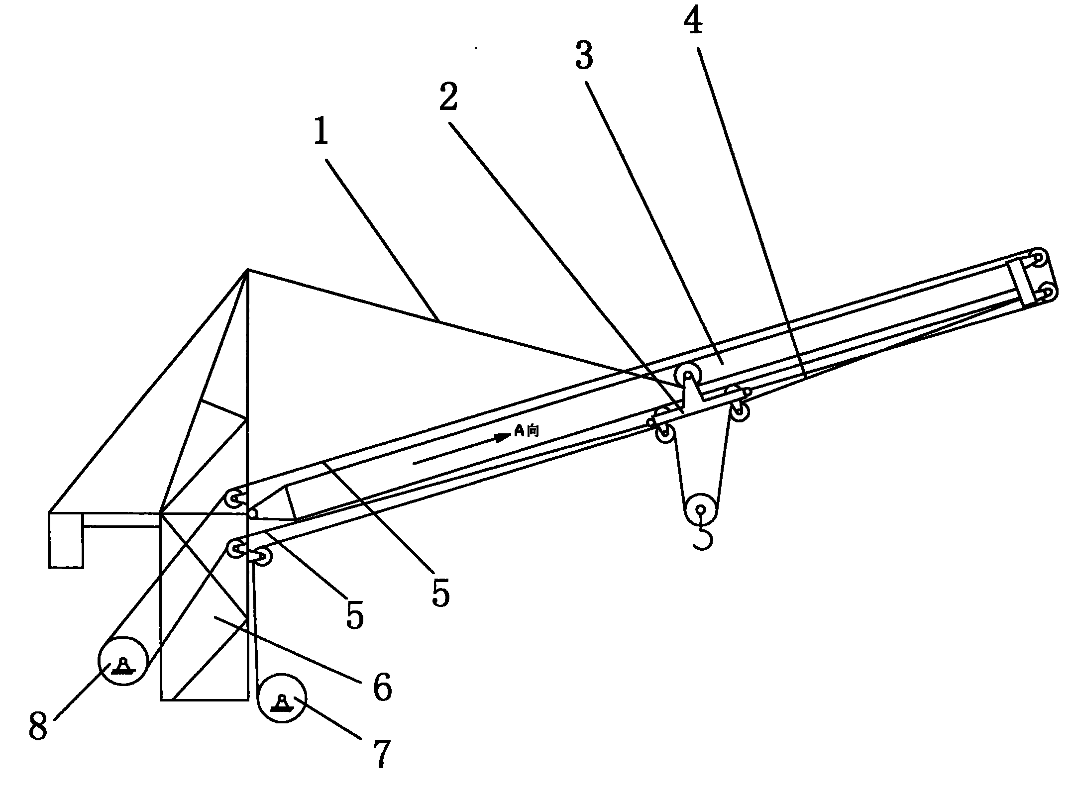
动平臂两用塔机变幅小车制造技术
图片尺寸1000x577
cn104528542a_一种塔式起重机双载重小车失效
图片尺寸480x488
一种塔吊辅助小车的制作方法
图片尺寸443x395
一种塔式起重机双载重小车
图片尺寸354x360
一种动平臂两用塔机变幅小车的制作方法与工艺
图片尺寸1000x569
附塔吊安全生产检查要点!
图片尺寸402x603
塔式起重机行走小车
图片尺寸530x399
监理如何检查验收塔吊?这些检查要点请收藏好!
图片尺寸1022x604
黄金广告位招租 按楼主想法,给你几个工地塔吊回转支承装置结构示意图
图片尺寸663x523
金属结构包括塔身,动臂和底座等.工作机构
图片尺寸378x382
吊钩组件和塔式起重机的制作方法
图片尺寸1195x1225
一种自适应平衡塔式起重机
图片尺寸1937x1987
cn204751957u_一种用于降低起重机高度的小车有效
图片尺寸1000x945
徐工集团xl6025-16动臂塔式起重机
图片尺寸2481x3034
塔吊比较重要的三个结构~下面一个是跑小车,同样的,左操作杆往前是
图片尺寸800x800
履带伸缩臂吊车多少钱
图片尺寸1152x864
一种自升组合塔式起重机
图片尺寸1420x1364
塔式起重机小车牵引钢丝绳电动张紧机构的制作方法
图片尺寸868x797
塔式起重机
图片尺寸2152x1600
塔式起重机安装施工方案qtz100(w6013-6a)
图片尺寸640x905