塔吊附墙图纸

一种塔吊附墙安拆平台-爱企查
图片尺寸2110x2287
一种塔机附墙的附着装置及其安装工艺-爱企查
图片尺寸1903x1267
塔吊附墙非标设计.发个库存,我也忘了什么时候画得了#塔吊 # - 抖音
图片尺寸880x583
塔吊附墙方案
图片尺寸920x1302
塔吊附墙.
图片尺寸1920x848
下面这张图,摘自塔吊说明书,附墙距离,角度
图片尺寸640x723
一种塔吊附墙件的拆装设备的制作方法
图片尺寸277x443
塔吊附墙拆除施工方法
图片尺寸1948x2085
塔吊附墙方案
图片尺寸920x1302
塔吊附墙连墙杆角度设置范围是多少
图片尺寸580x551
一种塔机非标附墙结构的制作方法
图片尺寸436x441
塔吊附墙处,结构钢筋需要加强吗?
图片尺寸685x468
2019年塔机附墙设计方案
图片尺寸800x1132
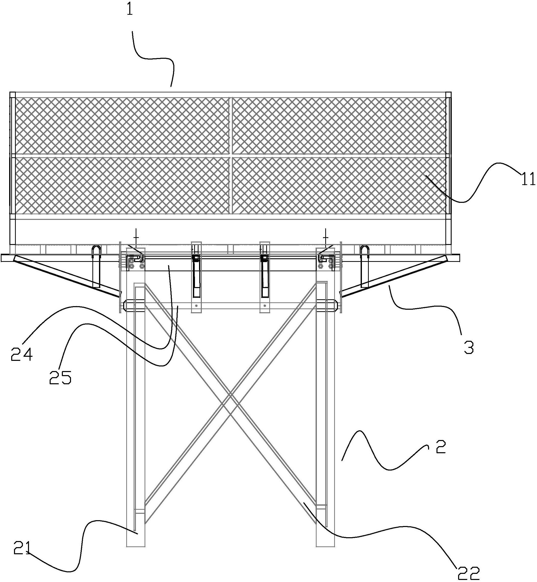
cn211691385u_组合式塔吊附墙作业平台
图片尺寸1671x1311
塔式起重机附墙方案qtz63(5510).doc
图片尺寸792x1120
塔吊附墙方案模板
图片尺寸920x1303
一种分体组合式塔吊附墙架的制作方法
图片尺寸999x1000
一种塔吊附墙机构的制作方法
图片尺寸1000x869
cn207312976u_一种室外附墙塔吊有效
图片尺寸1105x1764
一种室外附墙塔吊制造技术
图片尺寸627x1000