塔式吸热器管屏

sa-210c水冷壁管屏(无缝钢管屏)
图片尺寸2000x1125
20g内螺纹管屏
图片尺寸2000x1500
塔式吸热器
图片尺寸1568x963
西安交通大学翅片型熔盐吸热器在下一代塔式光热电站中的光热耦合特性
图片尺寸794x379
塔式光热电站吸热器的应用实例简析
图片尺寸500x423
一种熔盐吸热器管屏的制作方法
图片尺寸338x443
吸热器_塔式_太阳岛_产品/服务_太阳能光热发电权威商务平台
图片尺寸370x617
吸热器_塔式_太阳岛_产品/服务_太阳能光热发电权威商务平台
图片尺寸800x587
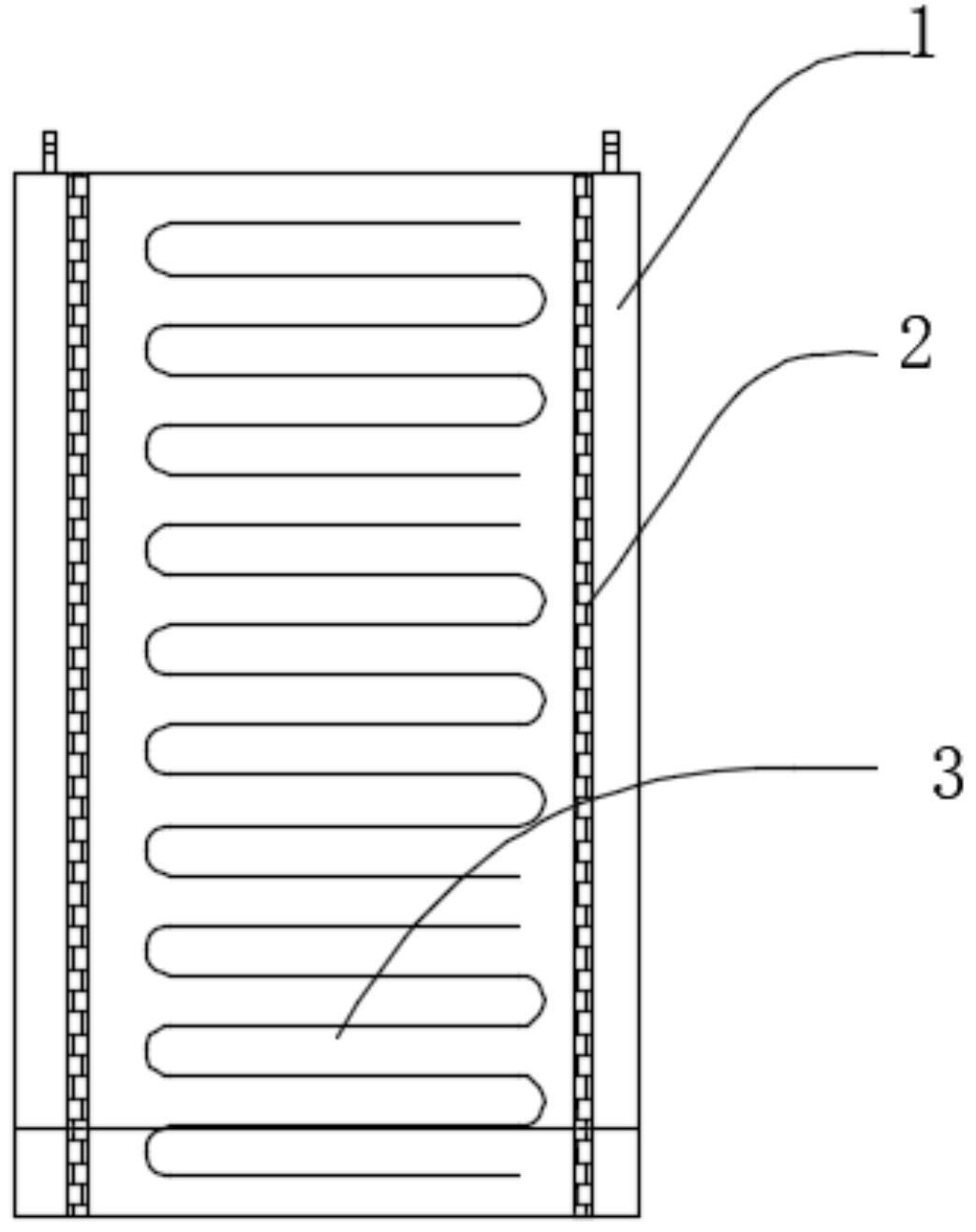
一种真空保温塔式表面吸热器管屏的制作方法
图片尺寸872x1000
鲁能海西州多能互补集成优化示范工程光热项目吸热器管屏开始吊装
图片尺寸672x900
吸热器
图片尺寸800x600
哈密50mw光热电站吸热器安装完成丨67玉门首航100mw塔式项目可研
图片尺寸1080x717
一种塔式吸热器管屏涂层在线检修装置
图片尺寸1042x1315
干货关于塔式光热电站核心装备吸热器你必须知道这些
图片尺寸843x633
鲁能格尔木50mw塔式光热电站熔盐吸热器的设计制造
图片尺寸800x553
中国电建西北院:塔式光热电站吸热器技术发展
图片尺寸900x537
电站锅炉高温过热器集箱管屏材质是super 304现场检查发现已生锈
图片尺寸800x600
一种真空保温塔式表面吸热器管屏制造技术
图片尺寸860x1000
以色列ashalim塔式光热电站吸热器成功吊装
图片尺寸800x936
塔式光热电站吸热器的壁面热流分布
图片尺寸288x266