塔扇结构

供热炉灶通风干燥设备的制造及其应用技术
图片尺寸564x777
cn201475005u_一种塔式风扇失效
图片尺寸800x958
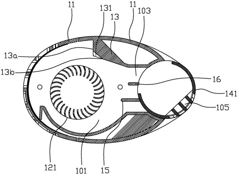
本实用新型属于风扇技术领域具体涉及一种塔扇结构
图片尺寸538x1000
一种多角度可调式分体塔扇的制作方法
图片尺寸911x1000
骆驼camel电风扇遥控水冷塔扇立式冷风扇加湿移动制冷空小空调扇升级
图片尺寸790x1450
一种可拆洗塔扇的制作方法
图片尺寸502x1000
一种可360摆头的塔扇的制作方法
图片尺寸625x1000
一种带有蓝牙音响的塔扇制造技术
图片尺寸503x1000
一种无扇叶塔扇的制作方法
图片尺寸1000x965
水冷塔扇
图片尺寸800x1337
一种具有快速安装轴承结构的塔扇
图片尺寸443x423
一种塔扇的加湿结构的制作方法
图片尺寸417x443
背景技术:目前市场上塔扇的后壳和后网结构主要有两种,一种是后壳与后
图片尺寸1000x534
不能水平调节吹风的角度或者塔扇主体与底座之间可以拆卸,但结构较为
图片尺寸443x360
cn211648557u_一种塔扇底盘结构
图片尺寸2050x2646
一种多向摆风结构及具有该结构的塔扇制造技术
图片尺寸748x1000
塔扇-爱企查
图片尺寸800x588
一种塔扇_cn201921261343.8_知雀网
图片尺寸1000x855
一种出风角度可调的高速塔扇的制作方法
图片尺寸745x1000
背景技术:目前市场上塔扇的后壳和后网结构主要有两种,一种是后壳与后
图片尺寸1000x533