填料压紧装置

白沙黎族自治县填料支承及填料压紧装置
图片尺寸700x525
填料床层限位装置及填料压紧装置的作用
图片尺寸600x600
科隆牌塔内件填料限位器又称压紧装置不锈钢压栅 - 谷瀑(goepe.com)
图片尺寸600x600
填料压环
图片尺寸800x800
填料塔的附件 填料支承装置 填料压紧装置 第四章 吸收操作技术
图片尺寸1080x810
hd填料压紧装置
图片尺寸1200x1200
巨才石化填料压紧装置填料支承装置不锈钢支撑格栅
图片尺寸920x1226
科隆牌塔内件填料限位器又称压紧装置不锈钢压栅 - 谷瀑(goepe.com)
图片尺寸600x600
第五,填料的压紧和限位装置
图片尺寸557x509
不锈钢s30408填料支撑装置
图片尺寸700x700
填料压栅填料压紧栅板填料压盖装在填料上方用于压紧填料
图片尺寸640x480
不锈钢填料压栅 规整填料压盖 304 316l填料压紧器压圈 散堆填料压紧
图片尺寸586x542
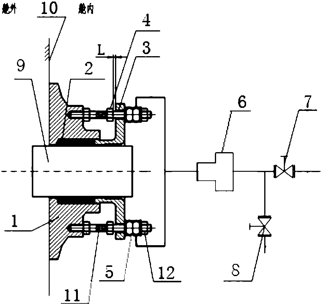
一种自适应环境介质压力的密封填料压紧装置
图片尺寸1080x1023
床层限制板 填料压紧装置及作用
图片尺寸500x400
填料塔的内件主要有液体分布器,液体再分布器,支承装置,填料压紧装置
图片尺寸558x414
废气处理脱硫精馏塔器填料压紧网板 化工业塔内件金属填料压圈
图片尺寸400x400
一种机械密封填料自动压紧装置
图片尺寸1691x1535
填料的压紧程度可通过拧松或拧紧压盖上的螺栓来进行调节.
图片尺寸399x369
结构改良型可注入式填料蒸汽阀杆密封高压氢气阀门填料自紧密封材料
图片尺寸479x581
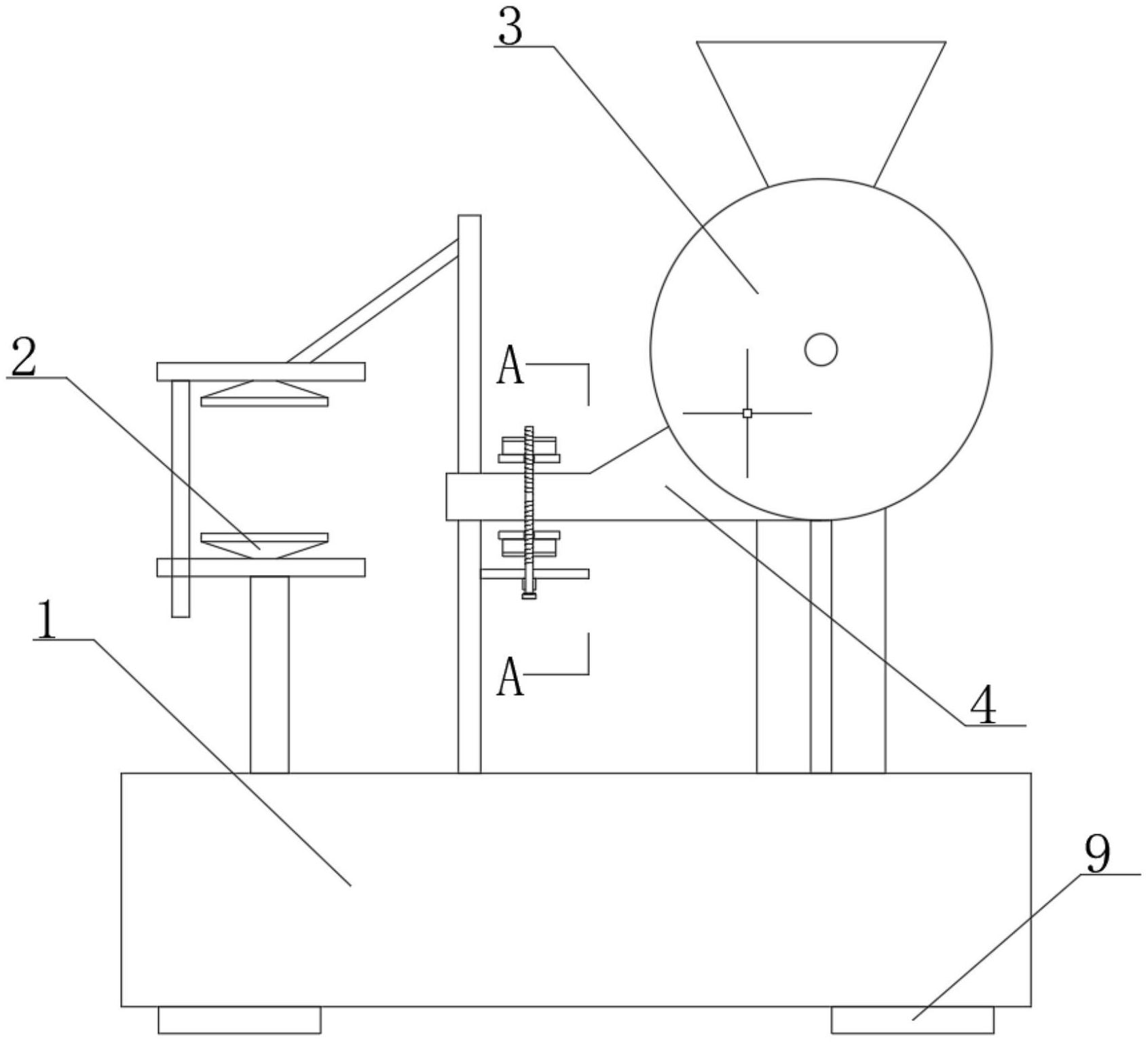
一种均匀受力的阀杆填料压紧装置的制作方法
图片尺寸1000x921