增压缸示意图

气液增压缸原来是这样工作的!
图片尺寸591x591
jlda增压缸原理
图片尺寸1182x1182
森拓气液增压缸工作原理图是怎么样的呢,有人知道吗
图片尺寸790x570
气液增压缸的结构介绍
图片尺寸320x415
气液增压缸应用于挤模成型-巨力气动液压-气液增压缸
图片尺寸500x254
jltb增压缸原理
图片尺寸1182x1182
增压缸原理介绍
图片尺寸2012x1598
气液增压缸
图片尺寸740x570
双向增压液压缸的组成与工作原理
图片尺寸712x732
温柔的重体力劳动者之气液增压缸浅谈
图片尺寸576x589
增压缸原理及故障排除阿里巴巴dgjldsj的博客blog
图片尺寸725x486
图1是rr151增压器基本结构图,其轴承支撑方式为内支撑,两轴承均在涡轮
图片尺寸523x336
节能式气液增压缸的设计与应用
图片尺寸964x677
一种油缸增压系统技术方案
图片尺寸1000x947
增压缸原理|玖容增压缸原理|增压缸原理
图片尺寸450x552
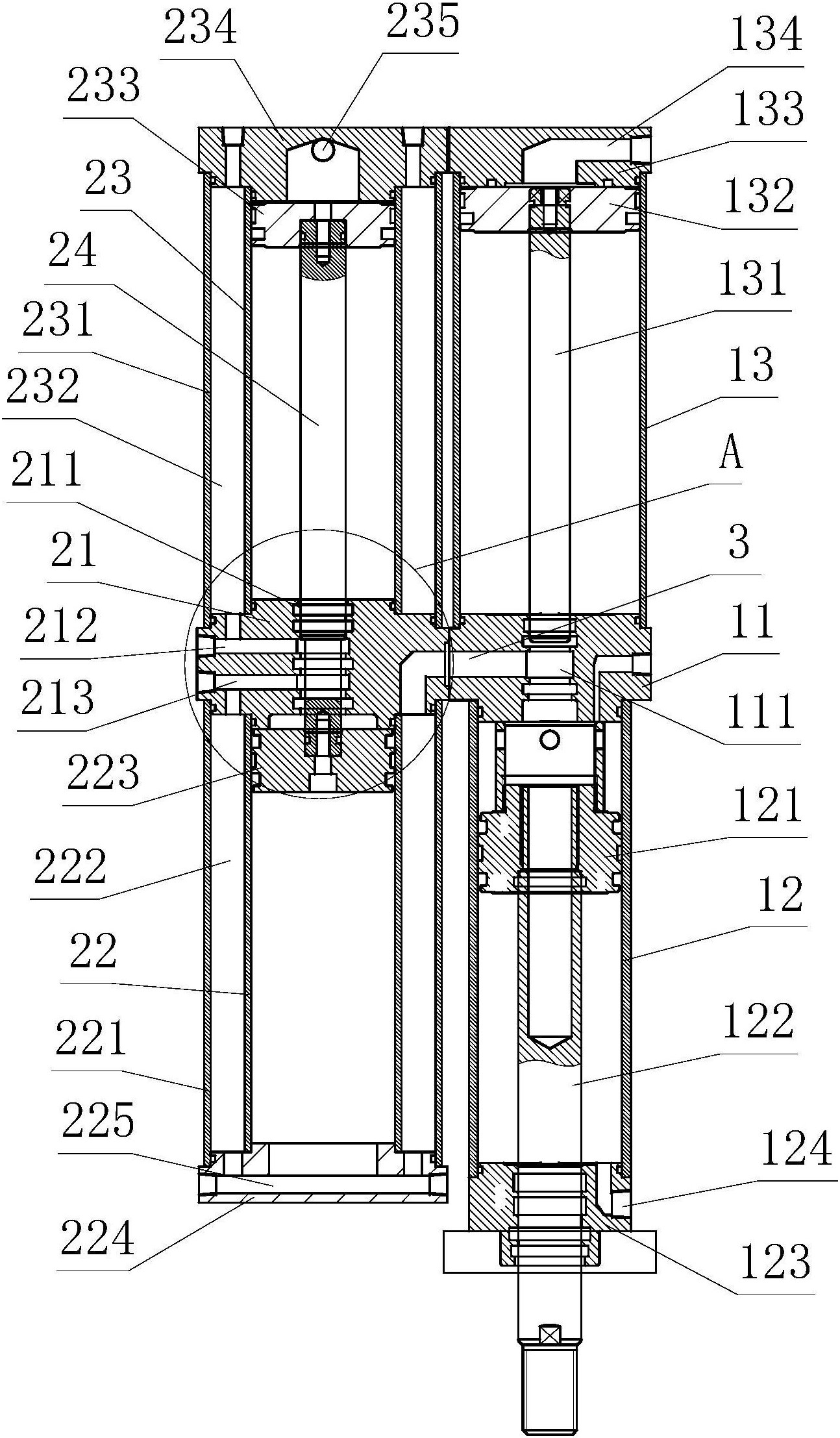
一种油气隔离型气液增压缸
图片尺寸1294x2215
久力| 气液增压缸和电动执行器进行对照,结果很直观!
图片尺寸1067x733
玖容增压缸工作原理|气液增压缸工作原理图|增压缸工作原理
图片尺寸450x542
气液增压缸原理图
图片尺寸893x368
增压缸 迷你型增压缸 巨力气动液压
图片尺寸700x641