壁灯平面图

月牙iv系列双头壁灯40w/15°/3050lm/3000k/白色
图片尺寸440x440
酒店客房床头led阅读灯 cree3w嵌入式工程小壁灯 现代可旋转壁灯
图片尺寸1019x723
灯具 美式卧室床头灯 奢华时尚壁灯
图片尺寸1200x1200
壁灯
图片尺寸1600x1929
客餐厅无主灯灯位详细尺寸图
图片尺寸1025x993
现代简约别墅户外壁灯批发 节能防水户外照明壁灯 铝户外壁灯
图片尺寸750x1160
酒店客房床头小壁灯led阅读灯 天花射灯壁灯两用 工程定制灯饰
图片尺寸750x480
不开孔 任意角度 自带开关 书房 酒店 卧室 床头 led 壁灯 阅读灯_7折
图片尺寸750x750
铝压铸壁灯
图片尺寸512x512
壁灯-爱企查
图片尺寸1982x1391
瓦片系列壁灯2020神灯奖申报产品
图片尺寸537x550
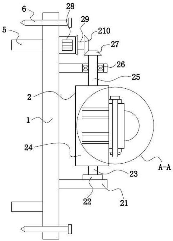
一种壁灯的制作方法
图片尺寸678x1000
壁灯_cn201930132421.3_知雀网
图片尺寸600x1155
壁灯开怎么接线方法
图片尺寸1024x687
一种多照明角度的led壁灯-爱企查
图片尺寸574x800
一种高度自由调节的led挂壁灯制造技术,壁灯专利_技高网
图片尺寸802x1000
超薄壁灯室内人体感应壁灯客厅六边形触摸蜂巢拼接组合网红黑科技卧室
图片尺寸790x892
欧洲进口壁灯deltalightmontur客厅卧室书房过道壁灯
图片尺寸800x800
flos romeo babe soft w 壁灯
图片尺寸600x600
cn2081477u_艺术壁灯失效
图片尺寸2688x1670