声屏障结构

声屏障直立式结构图
图片尺寸691x432
隔声屏障结构介绍
图片尺寸566x452
声屏障上弯弧式结构图
图片尺寸709x485
玻璃棉声屏障的价格与容重有关
图片尺寸850x1365
声屏障设计在满足声学性能要求的同时,其结构力学性能,材料物理性
图片尺寸571x564
工程ppt 一,高铁金属声屏障的组成 典型的高铁金属声屏障结构形式
图片尺寸1080x810
声屏障折板式结构图
图片尺寸711x328
本发明公开了一种用于高速铁路的声屏障,由多个结构相同的吸隔声单元
图片尺寸1101x771
一种道路声屏障的制作方法
图片尺寸993x1000![[分享]声屏障构造图资料下载](https://i.ecywang.com/upload/1/img2.baidu.com/it/u=3634781514,2304137761&fm=253&fmt=auto&app=120&f=JPG?w=405&h=500)
[分享]声屏障构造图资料下载
图片尺寸441x545
桥梁段声屏障
图片尺寸583x385
声屏障设计图纸
图片尺寸560x403
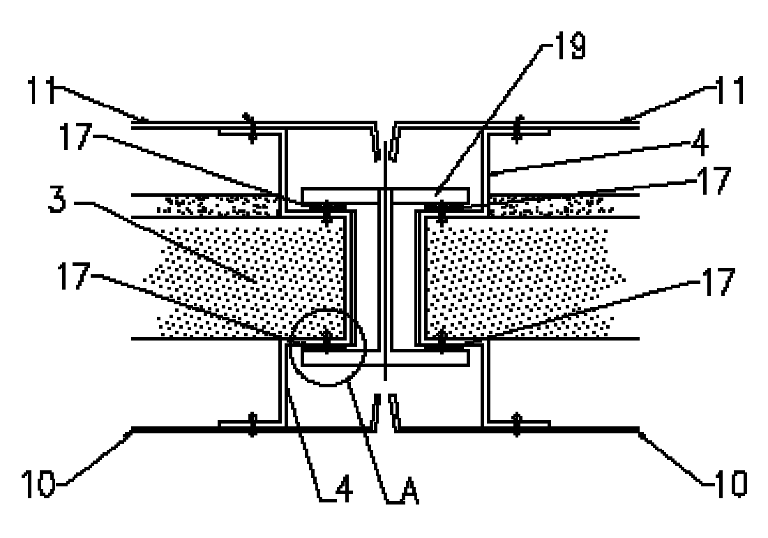
一种声屏障新式防盗结构的制作方法
图片尺寸768x1000
声屏障全弧形结构图
图片尺寸702x310
表1常见几种声屏障结构形式优缺点对比实例表1为几种声屏障结构形式优
图片尺寸640x508
佳安达458隔音板 stc:65分贝 (stc通俗讲隔声量,现场噪音130db(a)
图片尺寸627x472
35米高折臂式声屏障方案
图片尺寸1140x814
全拼装结构声屏障吸隔声模块的制作方法
图片尺寸1000x962![[资料]合宁铁路声屏障竣工图](https://i.ecywang.com/upload/1/img2.baidu.com/it/u=3001815790,1994773132&fm=253&fmt=auto&app=138&f=JPEG?w=500&h=351)
[资料]合宁铁路声屏障竣工图
图片尺寸753x528
网络山东济南市声屏障供应
图片尺寸1043x751