壳体夹具设计

变速箱壳体夹具
图片尺寸465x264
钻床壳体加工工艺规程及其镗床夹具设计三维图
图片尺寸820x509
电机壳体二序机加气动夹具
图片尺寸775x614
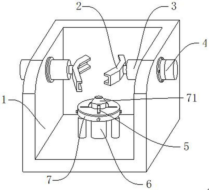
转向器壳体夹具(三维)
图片尺寸1728x1080
壳体零件铣端面夹具设计模型
图片尺寸647x457
首页 设计图库 【鸿达】油泵前壳体op10夹具图sw2012设计图库目录
图片尺寸530x325
刹车泵壳体钻孔夹具设计
图片尺寸633x396
变速箱壳体组合机床夹具设计2d图机械cad 说明素材
图片尺寸874x618
变速器轴承外壳钻m67h螺纹孔夹具设计
图片尺寸841x594
离合器壳体夹具设计模型
图片尺寸300x225
壳体工艺及夹具设计二副钻斜孔和铣斜面solidworks三维模型
图片尺寸820x590
壳体加工专用夹具sw设计模型
图片尺寸820x596
夹研外包设计案例壳体液压夹具
图片尺寸1040x720
民意车差速器壳体加工工艺编制及专用夹具设计三维图
图片尺寸820x595
机械工装夹具设计资料
图片尺寸1420x1010![w817-变速箱壳体铣面夹具设计[含proe三维图]-工艺夹具-龙图网](https://i.ecywang.com/upload/1/img2.baidu.com/it/u=362732181,2921729280&fm=253&fmt=auto&app=138&f=JPEG?w=685&h=500)
w817-变速箱壳体铣面夹具设计[含proe三维图]-工艺夹具-龙图网
图片尺寸921x672
夹研外包设计案例壳体液压夹具
图片尺寸1040x720
壳体加工专用夹具sw设计模型
图片尺寸820x615
汽车后桥壳体加工工艺及夹具设计(两套夹具)【含cad图纸】
图片尺寸1200x800
一种差速器壳体加工夹具-爱企查
图片尺寸799x724