壳体结构图

第一节 概 述 一 ,薄壳结构的概念 概念 壳体结构 比较 双轴力 顺
图片尺寸1080x810
cn201287568y_一种刻字机的壳体安装结构有效
图片尺寸1580x1617
一种多功能电暖器的壳体结构
图片尺寸1789x2129![[施工图]某壳体大剧院结构图](https://i.ecywang.com/upload/1/img2.baidu.com/it/u=2170845510,3616187469&fm=253&fmt=auto&app=138&f=JPEG?w=560&h=382)
[施工图]某壳体大剧院结构图
图片尺寸560x382
eq140汽车转向器壳体零件图
图片尺寸1889x1335
cn213206100u_一种挖泥船泵用防磨蚀壳体结构
图片尺寸1673x1814
从砖到纸–基于超薄板材结构性能的壳体创新
图片尺寸656x643
壳体零件图
图片尺寸820x580
壳体结构图
图片尺寸651x469
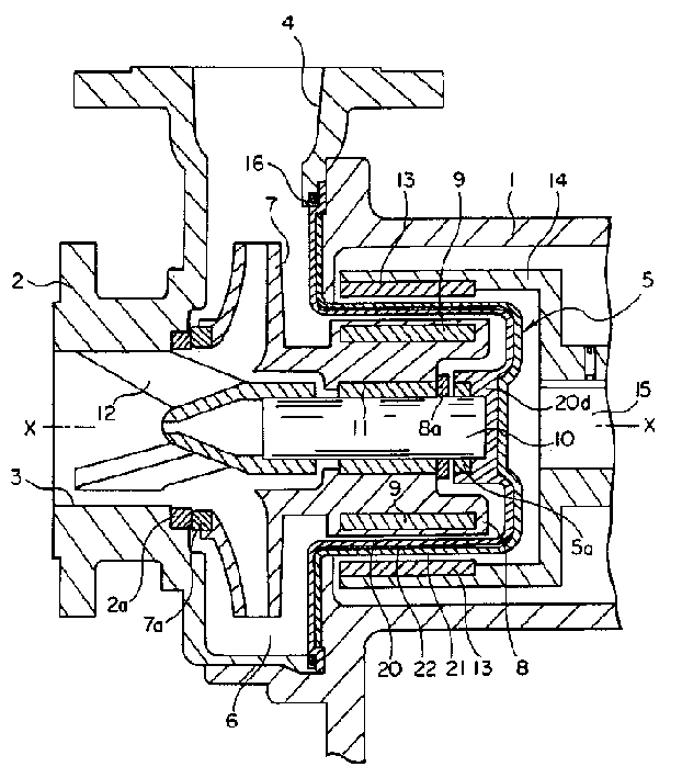
转子式压缩机的壳体结构的制作方法
图片尺寸1000x984
壳体夹具设计说明书
图片尺寸587x461
传动轴端密封润滑壳体及部件
图片尺寸681x499
壳体结构的曲面类型5
图片尺寸680x510
磁泵的后壳体结构
图片尺寸622x709
cn111663969a_一种液态燃料吸气式冲压旋转爆震发动机壳体结构在审
图片尺寸1735x1013
机架壳体结构图
图片尺寸744x521
壳体图
图片尺寸820x526
一种带隔振系统的圆柱式双层壳体结构的制作方法
图片尺寸988x1000
一种便于维护的仪表壳体结构的制作方法
图片尺寸1000x833
两个壳体之间用一些结构相连接.
图片尺寸720x469