壳程

管 壳 程数怎么确定
图片尺寸1080x792
管程 壳程 轻烃液 导热油出 排污 气出口 排污 导热油进
图片尺寸1080x810
② 壳程阻力
图片尺寸636x380
化工设备及技术第5单元 2壳程.ppt
图片尺寸1152x864
单壳程双管程换热器图
图片尺寸450x281
ppt 化工原理 列管式换热器 t1 管程数:单管程,双管程,多管程 壳程数
图片尺寸1080x810
【换热器cfd】换热器模拟(管程,壳程)_高清 1080p
图片尺寸698x407
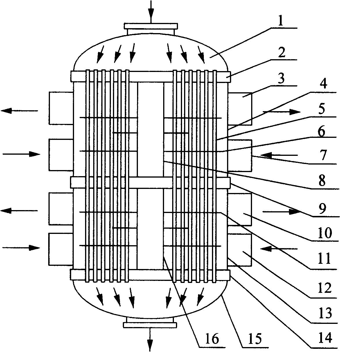
壳程多腔式多层床固定床反应器-爱企查
图片尺寸1171x1213
多壳程: 相当于单壳程串联,传热面积↑.
图片尺寸1080x810
壳程由不同材料组成的换热器
图片尺寸1080x526
免费文档 所有分类 传热和换热器ppt 传热和换热器 (2) 管壳 式换热器
图片尺寸1080x810
3 二,结构设计 管程—与管束中流体相通的空间 壳程—换热管外面流体
图片尺寸1080x810
换热器模拟管程壳程
图片尺寸1120x700
关闭e105壳程入口阀
图片尺寸2000x2660
二手30平方壳程列管式换热器
图片尺寸1080x1080
冷凝器管程壳程分别可以通什么介质
图片尺寸640x480
冷凝器管程壳程分别可以通什么介质
图片尺寸640x480
tb,in (shell side) ta,out tb,out 进一步增加管程和壳程 ta,in
图片尺寸1080x810
列管式固定床反应器壳程结构的设计
图片尺寸1664x2338
基础知识ppt 本文主要介绍石油化工产业中最常使用的管壳式换热器
图片尺寸1080x810