复卷机原理示意图

复卷机电气控制系统
图片尺寸556x283
上引纸复卷机示意图
图片尺寸1240x884
复卷机电控系统
图片尺寸297x316
cn201334274y_卷盘包装纸复卷机失效
图片尺寸1994x1118
cn201626721u_复卷机失效
图片尺寸1724x1014
一种自动瓦楞纸复卷机的制作方法
图片尺寸1000x513
一种高性能复卷机的制作方法
图片尺寸1000x790
一种小型无纺布复卷机
图片尺寸509x374
一种复卷机的制作方法
图片尺寸1000x734
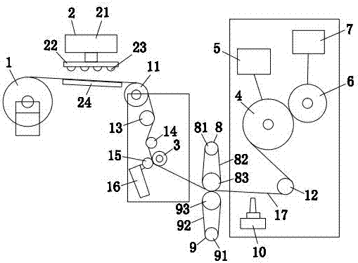
一种绝缘皱纹纸复卷机的张紧机构
图片尺寸1671x1046
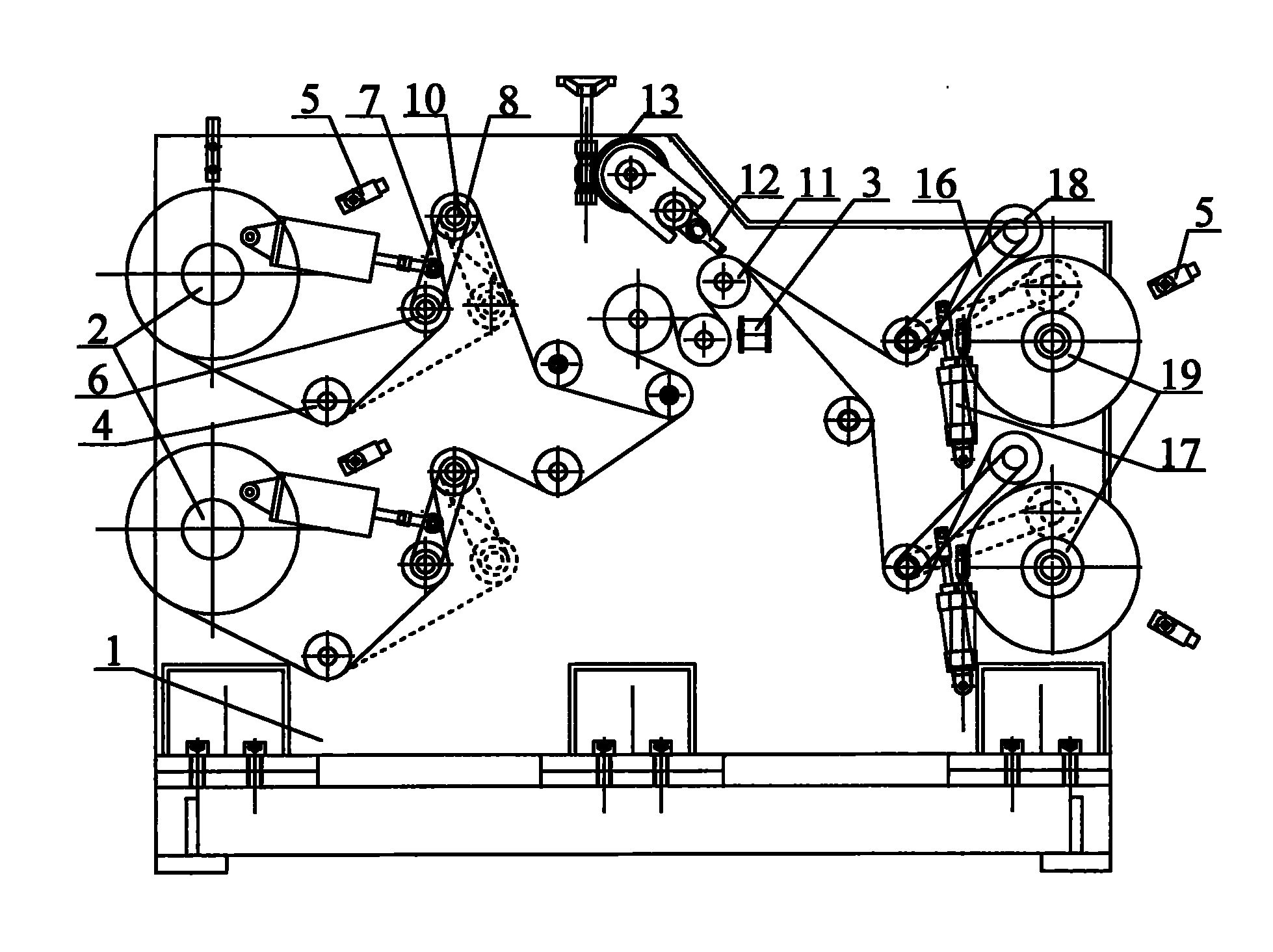
箱纸板用大宽幅高速下引纸复卷机
图片尺寸1781x1287
免刀复卷机制造技术
图片尺寸1000x676
提高复卷质量的新型造纸复卷机的制作方法
图片尺寸443x247
亚赛利复卷机培训资料
图片尺寸853x475
一种自动瓦楞纸复卷机
图片尺寸1000x516
免刀复卷机的制作方法
图片尺寸1000x678
中冶合创141250自动带材切边粗矫开卷复卷机
图片尺寸643x378
一种opp膜复卷机
图片尺寸2179x1503
cn213111789u_一种生活用纸生产用加工复卷机
图片尺寸1717x807
cn101837903a_一种微张力复卷分切机失效
图片尺寸1958x1464