复合绝缘子结构图

复合悬式绝缘子
图片尺寸468x214
复合绝缘子 型号: fxbw4-10/70 品牌: 兴耀 材质: 硅橡胶 连接结构
图片尺寸307x339
fpq4-35/6t22,fpq4-10/5t20复合针式绝缘子
图片尺寸780x1030
110kv防污型棒式高压绝缘子fzsw11010高压复合支柱绝缘子
图片尺寸750x2157
绝缘子
图片尺寸700x1609
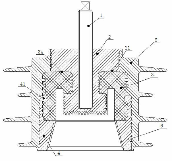
复合绝缘子金属端头的连接结构输电线路绝缘子串所承受的电压,并不是
图片尺寸372x302
复合悬式绝缘子
图片尺寸358x291
cn106611642a_一种可调放电距离的防雷线路柱式复合绝缘子失效
图片尺寸1585x1707
一种内置压敏电阻单元的复合绝缘子装置的制作方法
图片尺寸1000x998
防雷线路柱式复合绝缘子
图片尺寸738x1000
单导线双联耐张复合绝缘子的制作方法
图片尺寸1000x369
> 2013年中国绝缘子产品介绍(图)
图片尺寸444x299
一种双模调距防雷线路柱式复合绝缘子的制作方法
图片尺寸931x1000
摘要附图摘要本实用新型公开了一种复合绝缘子,属于复合绝缘子结构
图片尺寸605x566
cn201051429y_一种新型电力机车用复合柱式绝缘子失效
图片尺寸2582x1679
复合绝缘子外观尺寸示意图
图片尺寸619x555
复合悬式绝缘子
图片尺寸378x323
硅橡胶空心复合绝缘子结构图
图片尺寸559x307
fxbw4-110-70复合悬式绝缘子
图片尺寸838x495
单导线双联悬垂复合绝缘子的制作方法
图片尺寸978x1000