外开窗结构

坚美60系列隔热外平开铝合金窗结构图
图片尺寸351x367
断桥窗产品 - 热门商品专区
图片尺寸1080x1080
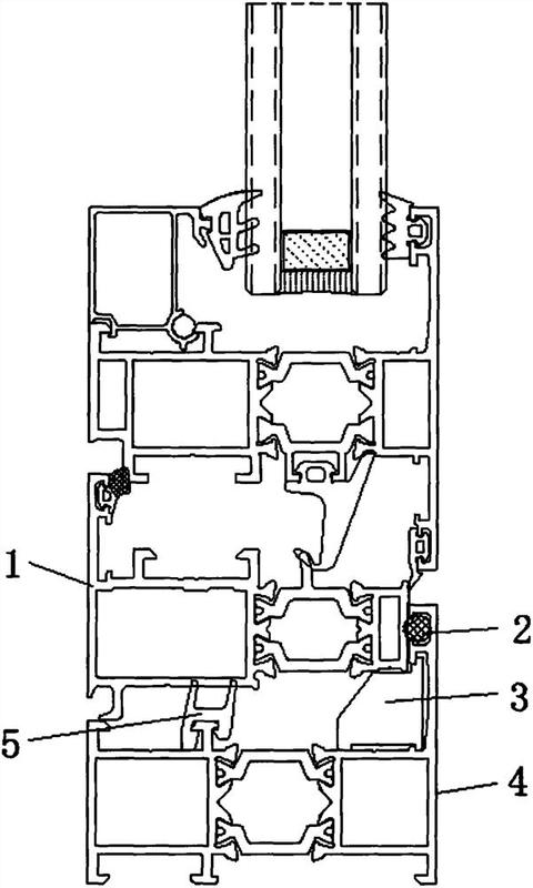
一种外开窗结构的制作方法
图片尺寸811x1000
> 门窗构造
图片尺寸463x468
外推式窗户的组件结构详解图.
图片尺寸450x450
塑钢门窗结构图ppt
图片尺寸1080x810
k60e系列隔热节能外平开门连窗结构图
图片尺寸640x815
2001c系列推拉窗结构图
图片尺寸1200x1617
55系列平开门,窗结构图
图片尺寸800x1131
一种隔热双平开外开窗改良结构的制作方法
图片尺寸1000x715
50系列外平开窗 图纸 点击插入图纸,便于买家了解产品尺寸或内部结构
图片尺寸441x530
一种外开窗转接结构-爱企查
图片尺寸480x800
一种外开窗转接结构的制作方法
图片尺寸603x1000
塑钢窗户结构分析
图片尺寸500x334
50a系列外平开窗转换固定玻璃框
图片尺寸1200x1697
铝的窗框部分设有隔热条,所述铝木复合外开窗扇安装内置内开木纱窗
图片尺寸1852x930
你可知五金配件是门窗的"心脏"?
图片尺寸800x463
某横隐竖明铝合金半隐框幕墙开启窗节点构造详图-幕墙结构节点详图
图片尺寸889x627
g50f系列隔热外平开窗
图片尺寸1132x1689
cn207715047u_一种外开窗的防水结构有效
图片尺寸1369x1360