外涨夹具图纸

夹具装配图pdf
图片尺寸920x651
夹具装配图pdf
图片尺寸920x651
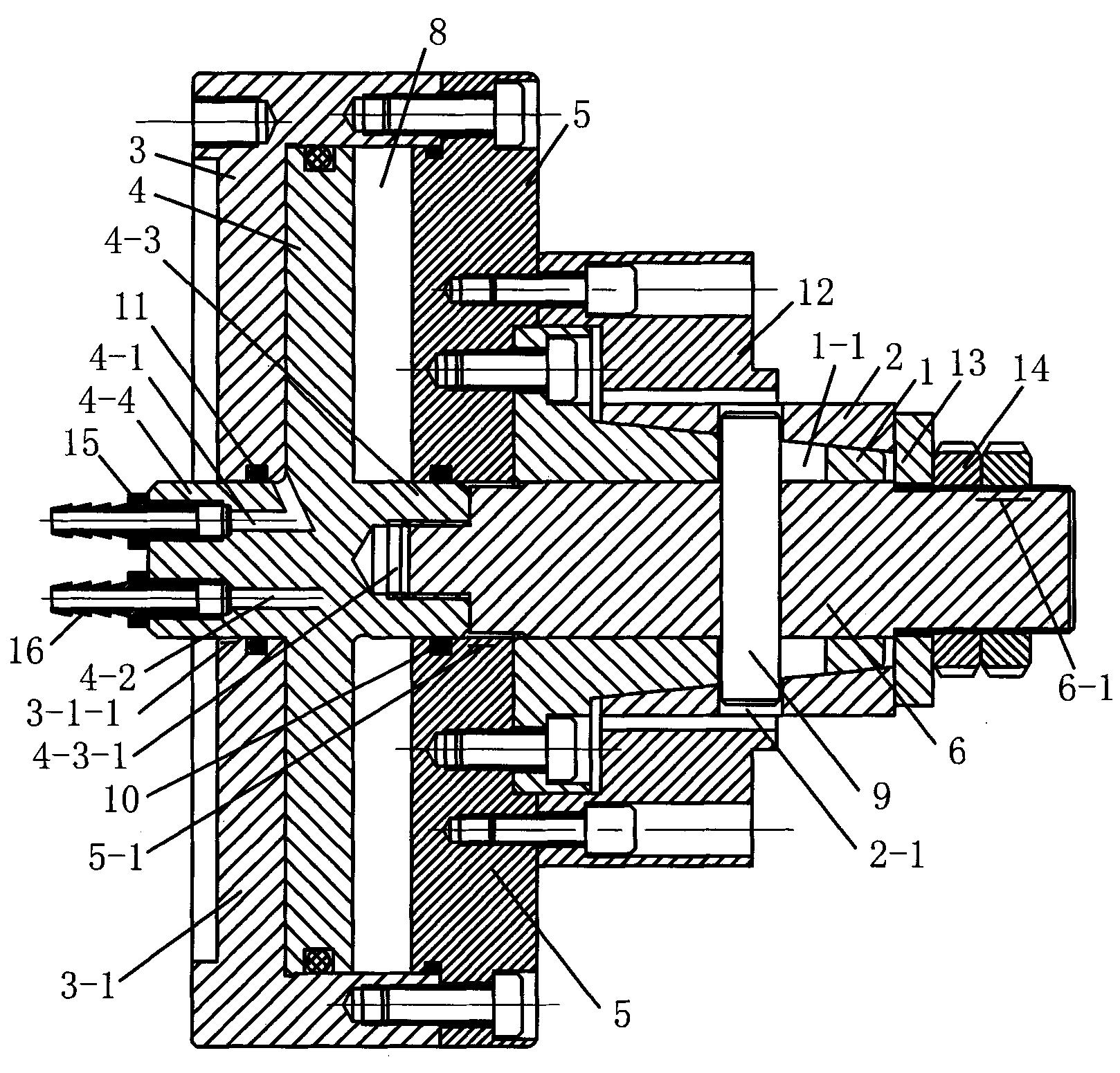
液性塑料胀紧车床夹具装配图dwg图纸
图片尺寸1134x784
夹具装配图pdf
图片尺寸920x651
涨套夹具-爱企查
图片尺寸1618x1551
一种板类涨紧夹具的制作方法
图片尺寸481x351
一种涨套式自动剃齿夹具
图片尺寸1000x739
一种专用中心涨套夹具-爱企查
图片尺寸2006x820
一种挖掘机横梁涨紧器焊接夹具-爱企查
图片尺寸744x800
ok夹具工装cnc加工中心膨胀内撑夹紧器斜压板块单双侧面固定虎钳shl
图片尺寸990x1268
涨套夹具-op20-零部件模型图纸-沐风网
图片尺寸449x220
气动胀紧式夹具的制作方法与工艺
图片尺寸1000x828
摘要:本实用新型涉及齿轴装夹技术领域,具体公开了一种齿轴磨齿夹具
图片尺寸408x443
er16 - 热门商品专区
图片尺寸1086x768
液压驱动夹紧夹具设计装配图cad图纸cad图纸
图片尺寸1096x714
涨圆压紧夹具制造技术
图片尺寸1000x896
铣床夹具设计实例
图片尺寸816x1261
一种中型数控车床用工装夹具-爱企查
图片尺寸1092x1394
夹具件加工
图片尺寸1158x790
0056-工艺夹具-车床拨叉(11套)
图片尺寸1200x800