多功能瓶盖设计

转载设计师的脑洞瓶盖设计
图片尺寸1080x1080
设计师的脑洞瓶盖设计
图片尺寸1050x1050
优束 彩色塑料瓶盖 矿泉水瓶盖 幼儿园手工创意彩色拼图瓶盖瓶盖 橙色
图片尺寸750x991
瓶盖设计
图片尺寸1920x1604
酒瓶盖 #包装设计 #支持定制各种款式及尺寸 #酒包装 # - 抖音
图片尺寸1170x876
设计师的脑洞瓶盖设计
图片尺寸1050x600
摘要附图摘要1.本外观设计产品的名称:瓶盖;2.
图片尺寸1386x1194
瓶盖设计
图片尺寸1280x1069
一种碳粉瓶的多功能瓶盖-爱企查
图片尺寸1318x1535
金属香水瓶盖锌合金香水盖子深圳制作设计
图片尺寸750x747
他将饮料瓶盖下那一圈塑料带设计成了空心的吸管,我们打开瓶盖后很
图片尺寸400x545
亲子作品:有趣的瓶盖
图片尺寸651x570
本外观设计产品的名称:瓶盖(gk).2.
图片尺寸1526x1679
瓶盖造型练习( 1)(已结束)
图片尺寸779x580
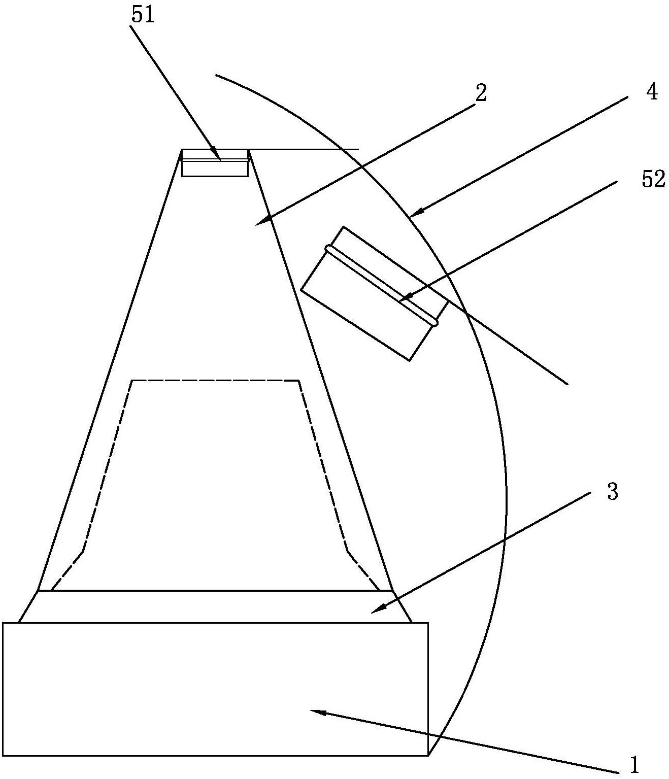
一种多功能瓶盖
图片尺寸443x332
朗姆酒瓶盖设计
图片尺寸5000x5000
艺术与设计 - 小小的瓶盖依旧有无限的可能
图片尺寸1080x605
盖子设计
图片尺寸1280x828
矿泉水品牌 vittel 在包装的瓶盖做创意,通过有趣的设计促进身体健康
图片尺寸658x461
供应瓶盖设计模具制造capmold翻盖模具洗涤剂瓶盖
图片尺寸721x585