多功能输液架专利

高档输液架系列
图片尺寸800x1132
医院动态护理新举措新型移动式输液架
图片尺寸719x600
专利类型无保健用品产品名称输液架生产企业乾罡型号输液架颜色三角二
图片尺寸750x483
多功能伸缩折叠输液架 - cn201720226872.
图片尺寸674x1000
一种多功能输液架
图片尺寸299x443
一种可固定胸瓶的多功能输液架专利_专利申请于2018-04-03_专利查询
图片尺寸521x1000
住院输液架带轮吊瓶点滴挂架诊所用承重吊杆伸缩门诊室轻松便携式
图片尺寸800x800
【平价超市】一种医疗用可移动输液架专利转让-医疗/保健/美容 - 医疗
图片尺寸439x584
一种可伸缩智能输液架的制作方法
图片尺寸738x1000
一种内科护理输液架专利_专利申请于2020-07-30_专利查询 - 天眼查
图片尺寸1590x1624
输液架落地移动式美容院诊所住院时尚医用床头带轮放置五脚滑轮运
图片尺寸800x800
一种多功能输液架的制作方法
图片尺寸825x1000
一种多功能输液架专利_专利申请于2017-02-27_专利查询 - 天眼查
图片尺寸1193x1722
输液架杆移动式输液杆打针神器点滴架子吊瓶架便携式可调节不锈钢
图片尺寸657x667
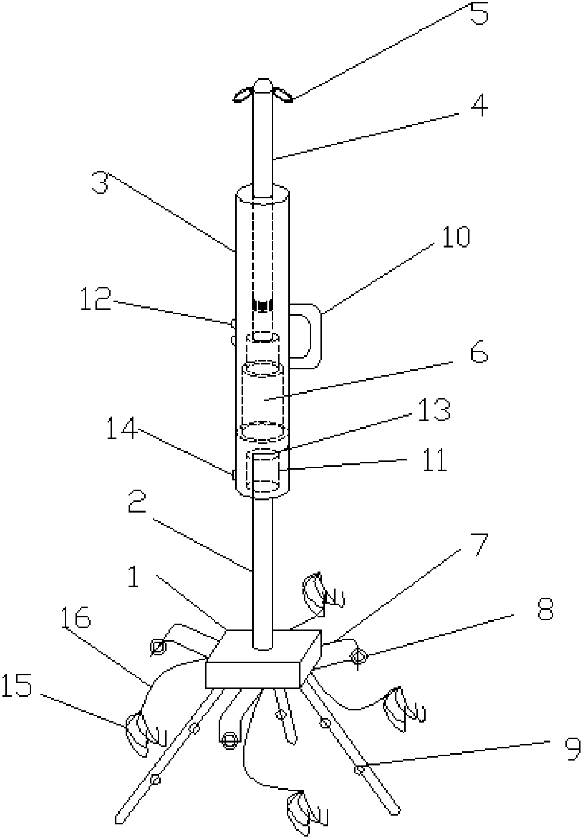
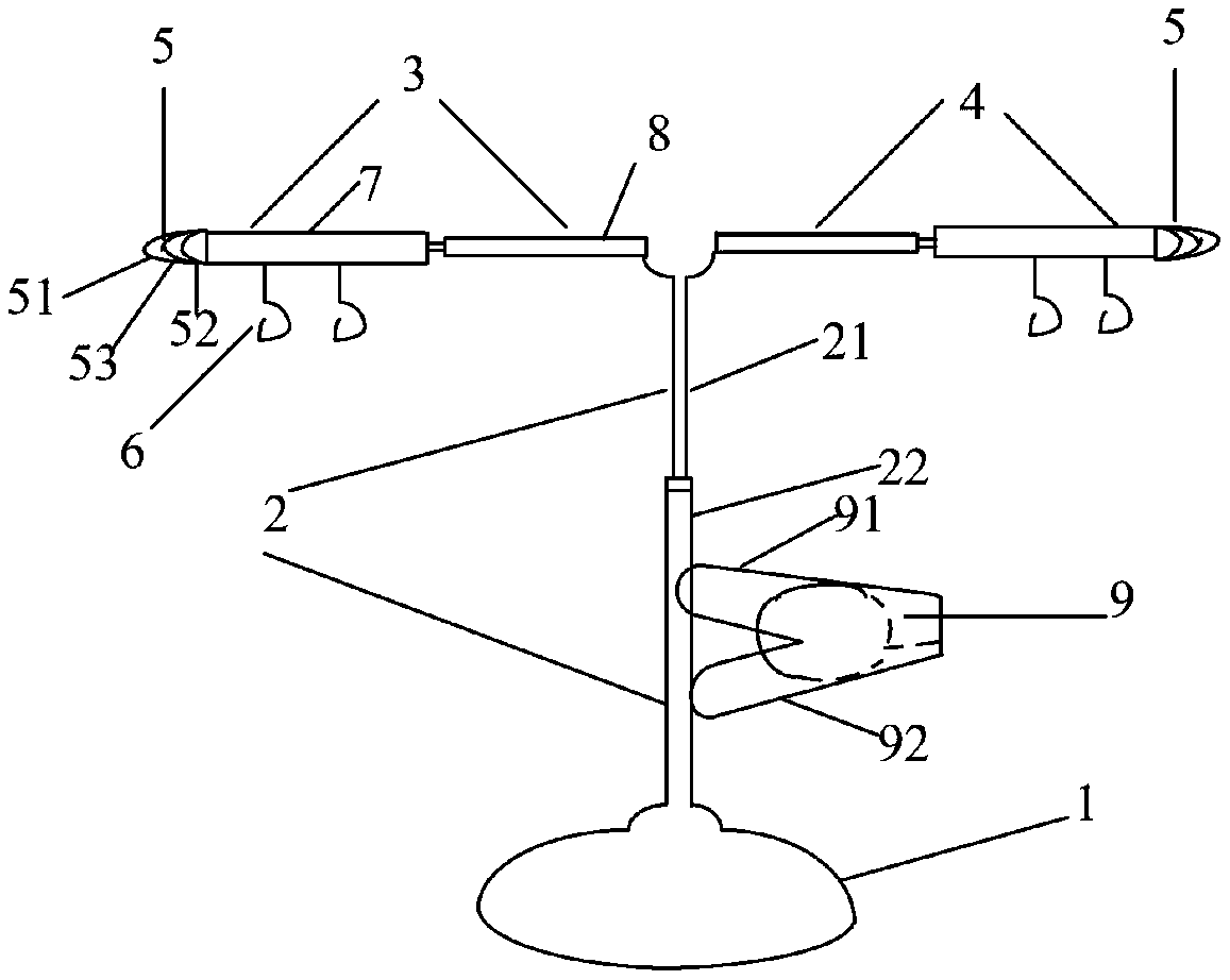
一种多功能输液架制造技术,多功能输液架专利_技高网
图片尺寸867x1000
一种随身携带输液架专利_专利申请于2006-11-10_专利查询 - 天眼查
图片尺寸1465x1781
一种医疗用新型多功能输液架专利_专利申请于2018-04-20_专利查询
图片尺寸1157x922
万用输液架
图片尺寸582x764
一种医疗用新型多功能输液架
图片尺寸1000x800
cn2936278y_多功能输液麻醉架失效
图片尺寸1116x2366