多级水封

供应广一立式多级不锈钢管道泵机械密封/水封图片及价格
图片尺寸314x406
汽轮机辅机多级水封,轴加疏水,多级水封疏水装置
图片尺寸513x556
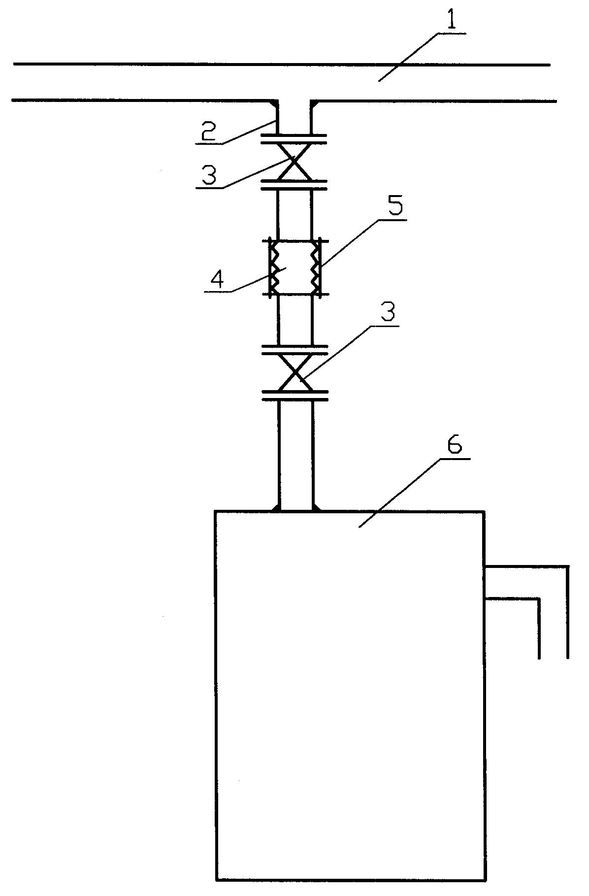
水泵水封组件多级水泵水封
图片尺寸1080x1170
供应vavsvl水封
图片尺寸681x458
专业批发各种 机械密封件 水泵水封密封件 合金机械水封
图片尺寸1136x1136
涨知识||汽机轴加多级水封系统
图片尺寸459x276
除氧器溢流水封装置多级水封
图片尺寸1440x1080
合金水封轴封机械密封件系列氟胶密封件
图片尺寸3024x3024
格兰液下泵轴封富mtr45-8a-w-a-huuv多级机械密封件水泵轴封密封件
图片尺寸3024x3024
水封 厂家直供
图片尺寸500x375
va型水封密封圈
图片尺寸1080x1440
va型水封vs水封vdvl水封台湾水封
图片尺寸800x800
水封 厂家直供
图片尺寸562x482
轴加多级水封工作原理及操作注意事项
图片尺寸575x553
【汽机知识】水封工作原理及多级水封的介绍
图片尺寸564x399
马桶水封是什么?
图片尺寸800x320
耐高温va型水封,氟橡胶va形水封
图片尺寸661x466
一种多级水封下降管-爱企查
图片尺寸1196x1819
除氧器溢流水封装置多级水封
图片尺寸290x290
多级水封结构
图片尺寸249x286