多路阀结构

一种液压多路换向阀-爱企查
图片尺寸2120x1849
一种液压挖掘机多路阀控制装置-爱企查
图片尺寸1960x2007
油口单独控制的液压多路阀及其控制方法
图片尺寸2178x1602
多路阀原理及结构图
图片尺寸738x360
多路阀总成,可拆可整#挖掘机配件专卖 #配件大全 #工程机械 - 抖音
图片尺寸754x662
图解挖掘机多路阀原理
图片尺寸920x636
一种无泄漏垃圾车用多路阀结构
图片尺寸1532x1346
一种下车多路换向阀
图片尺寸2012x1740
力士乐m4一15多路阀原理图
图片尺寸876x607
美国vickers片式多路阀
图片尺寸1133x565
一种新型便于控制的多路阀的制作方法
图片尺寸1000x888
cn101338829a_多路液压换向阀有效
图片尺寸2797x1384
cn209977340u_泳池水处理设备的多路阀结构
图片尺寸1883x1456
一种新结构的多路阀
图片尺寸937x680
一种降低液压多路阀启停冲击及先导憋压的阀杆结构的制作方法
图片尺寸459x252
一种具有液压锁功能的多路阀
图片尺寸792x478
图解川崎多路阀做个明白挖机人
图片尺寸640x375
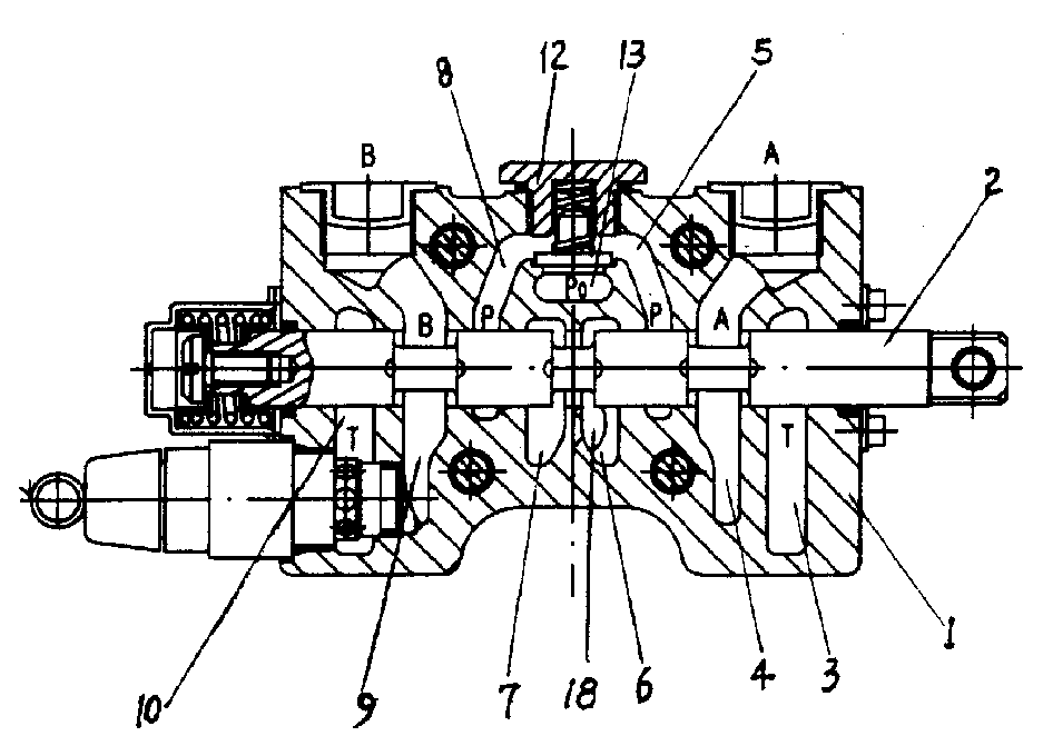
dfs60 多路阀结构图(图 1)
图片尺寸325x305
用于控制叉车门架的多路换向阀-爱企查
图片尺寸1504x2112
神钢20-30吨挖掘机多路阀阀芯的位置和作用,为你详解90# - 抖音
图片尺寸640x487