大理石结构

碎拼大理石铺地结构图
图片尺寸560x432
碎拼大理石铺地结构图
图片尺寸610x432
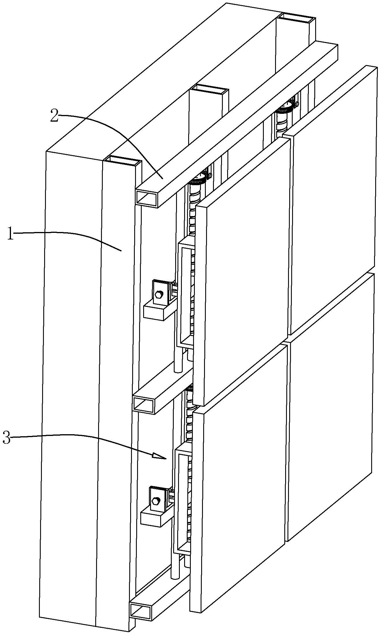
cn213477489u_一种墙面大理石干挂结构有效
图片尺寸1320x2198
优质大理石罗马柱厂家 欧式客厅电视背景墙 高温烧定制电视墙
图片尺寸1920x1697
白色的大理石纹理,大理石在自然背景和设计图案的详细结构
图片尺寸700x467
天然大理石容易发生断裂,那安装好之后还会这样吗?
图片尺寸640x476
成都市青羊区某私人别墅大理石板楼地面构造设计cad施工图
图片尺寸1440x1020
家里要做大理石的电视背景墙需要画几张节点图和剖面图
图片尺寸762x459
大理石墙钢结构
图片尺寸1200x1600
贴皮大理石的结构
图片尺寸640x445
杭州大理石结构件//底座/横梁
图片尺寸1440x1080
什么原因导致大理石结构件商场竞争越来越强烈呢
图片尺寸960x540
金色年华与梨花飘雪.大理石纹理的演变过程十分复杂,地理结构, - 抖音
图片尺寸1080x1322
介绍室内常用的大理石施工结构.
图片尺寸640x480
高, 背景, 质量, 大理石, 结构
图片尺寸450x470
家里要做大理石的电视背景墙需要画几张节点图和剖面图
图片尺寸649x488
施朗格·精工大理石官网|高端大理石定制专家
图片尺寸370x250
大室内大理石施工安装结构
图片尺寸1280x720
cn204899108u_一种大理石干挂节点结构有效
图片尺寸450x481
一种大理石干挂植物墙的制作方法
图片尺寸363x508