天塞镜头结构图

看图识镜(4): 三片式镜头/看图识镜(5): 天塞式镜头 - 归档主题
图片尺寸404x288
(左为以小巧著称的彪钢结构,右为为手机模组优化的天塞结构)
图片尺寸644x233
缩水还是技术进步为什么无反相机镜头光圈越做越小
图片尺寸750x500
佳能ef70-200mm f/4l isii usm镜头镜片结构图
图片尺寸1080x572
佳能ef 11-24mm f/4l usm镜头结构图
图片尺寸924x600
肉眼结构:镜头相当于充当晶状体这一环节,简而言之,镜头主要的作用就
图片尺寸674x466
8 dg dn ll|art 镜头国行售价公布:8688 元,5 月 24 日上市
图片尺寸601x363
镜头的内部结构图 焦距决定拍摄视角 将多组多片镜片组成的镜头看做
图片尺寸673x594
镜头结构图
图片尺寸1080x706
镜头结构图:rf400mm f2.8 l is usm(左)和rf600mm f4 l is usm(右)
图片尺寸800x239
(仅依据镜头结构及mtf曲线只能大致判断镜头画质,若想合理判断,需等待
图片尺寸641x314
看懂即无敌镜头光学结构详解
图片尺寸640x420
2575mm长波红外连续变焦镜头的制作方法
图片尺寸722x689
8 l is usm镜头镜片结构图
图片尺寸908x622
镜头结构示意图
图片尺寸550x332
镜头结构图
图片尺寸540x290
8p镜头 | 胶片机复古饼干头
图片尺寸3648x2280
镜头
图片尺寸848x824
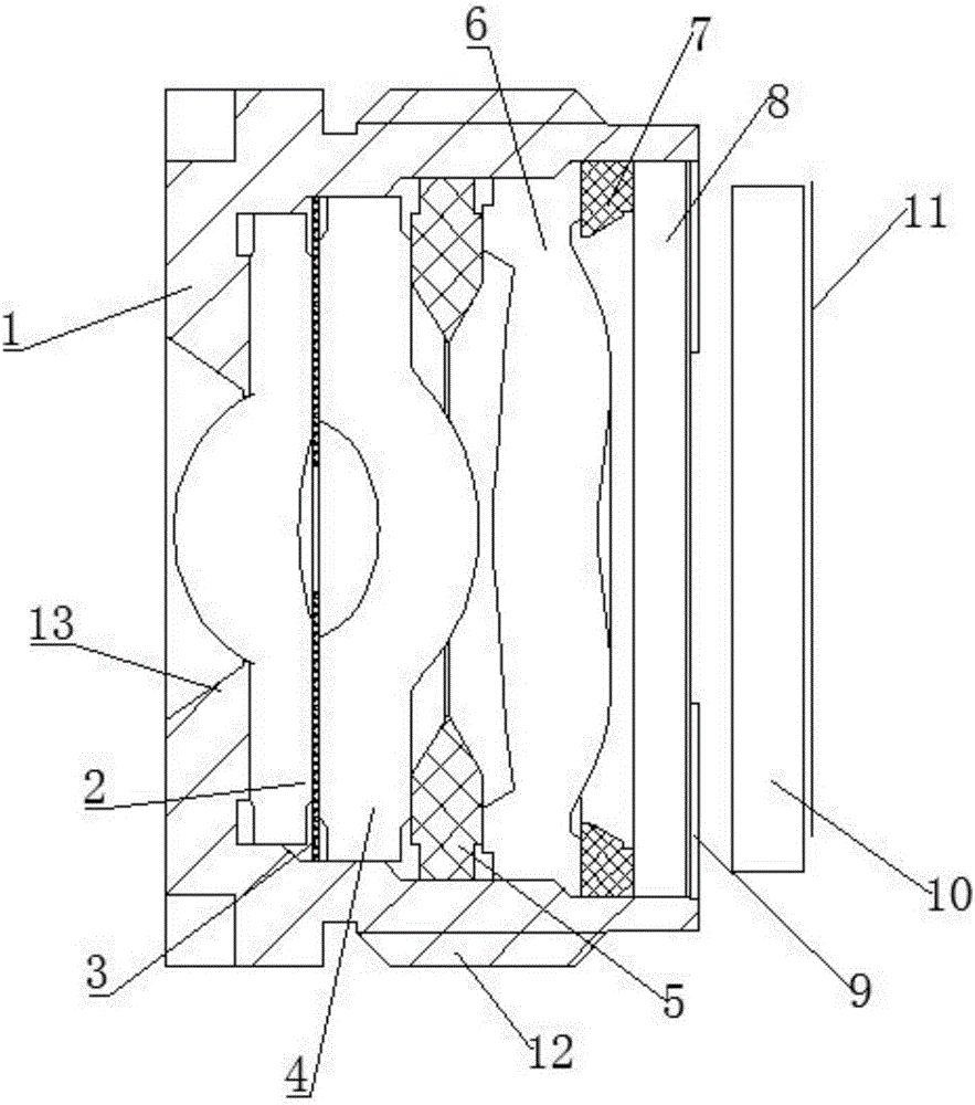
一种200万像素手机镜头结构
图片尺寸883x1000
镜头结构图
图片尺寸450x482