失重训练仪结构
图片尺寸1743x1583
肩周炎康复训练设备
图片尺寸1793x2425
"zl-0994c啮齿类大鼠尾吊失重模型实验箱"失重情况下的身体指标变化!
图片尺寸3103x2581
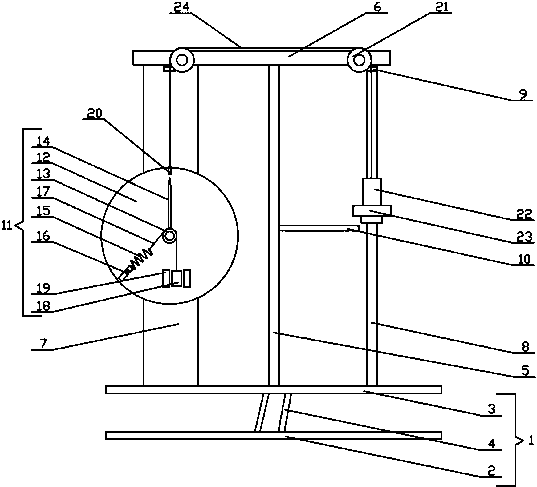
用于稳定,固定患者和使其活动的辅助装置
图片尺寸1754x1689
图片新闻|体验模拟失重训练
图片尺寸1200x800
小巧玲珑,功能齐全!🎉
图片尺寸923x985
太空授课
图片尺寸432x600
为了缓解疼痛,学着和同事一样,买了按摩仪,入手的是云康宝肩颈按摩
图片尺寸987x1049
21062超重失重演示器物理实验器材教学仪器
图片尺寸1920x1920
商用倒蹬机专业腿部力量健身器材哈克深蹲机倒蹬训练器45度斜蹲机
图片尺寸1500x1592
综合训练器单人站 升级款67kg配重 蹬腿/包上楼
图片尺寸750x1303
可供进行腿部运动的运动器材
图片尺寸1422x1691
史密斯机详解:健身房的万能训练工具
图片尺寸1080x1498
一种智能高速点胶机
图片尺寸1974x2487
铁路轨道几何状态精密测量系统
图片尺寸1292x1228
失重秤内部结构与工作原理详解,助您深入了解精确控制之利!
图片尺寸708x668
重力实现和模拟的方式及微重力下细胞,组织培养实验的开展
图片尺寸3840x2880
热失重分析仪
图片尺寸740x543
高中物理《关于"超重与失重 "重点问题梳理》
图片尺寸1093x401
失重法测试范围有哪些
图片尺寸640x900