头灯内部结构图

爱淘优惠购58包邮的探露头灯到手拆
图片尺寸1279x959
卤素灯之灯头壳结构-爱企查
图片尺寸1368x1949
一种智能感应头灯
图片尺寸1787x2015
拆2元多的头灯
图片尺寸1380x2760
前几天帖子看到的头灯到手拆之
图片尺寸2500x1872
拆修一个shinefire的感应头灯
图片尺寸1280x960
led头灯强光充电超亮头戴式手电筒户外感应夜钓鱼氙气矿灯
图片尺寸1500x2322
m工开物 篇十三:两块八的头灯拆解大对比,神火还是无敌的存在
图片尺寸1080x810
头灯带子头灯松紧带子加厚矿灯头灯套带头戴式头灯绳通用头灯配件黑灰
图片尺寸790x1100
一种灯头结构
图片尺寸1388x2328
拆2元多的头灯
图片尺寸1380x2760
一种大功率头灯的结构的制作方法
图片尺寸1000x909
一种360度旋转可调头灯的制作方法
图片尺寸1000x816
一种智能医用头灯的制作方法
图片尺寸1000x748
拆解另一版本的迭影双光源led头灯
图片尺寸1380x1035
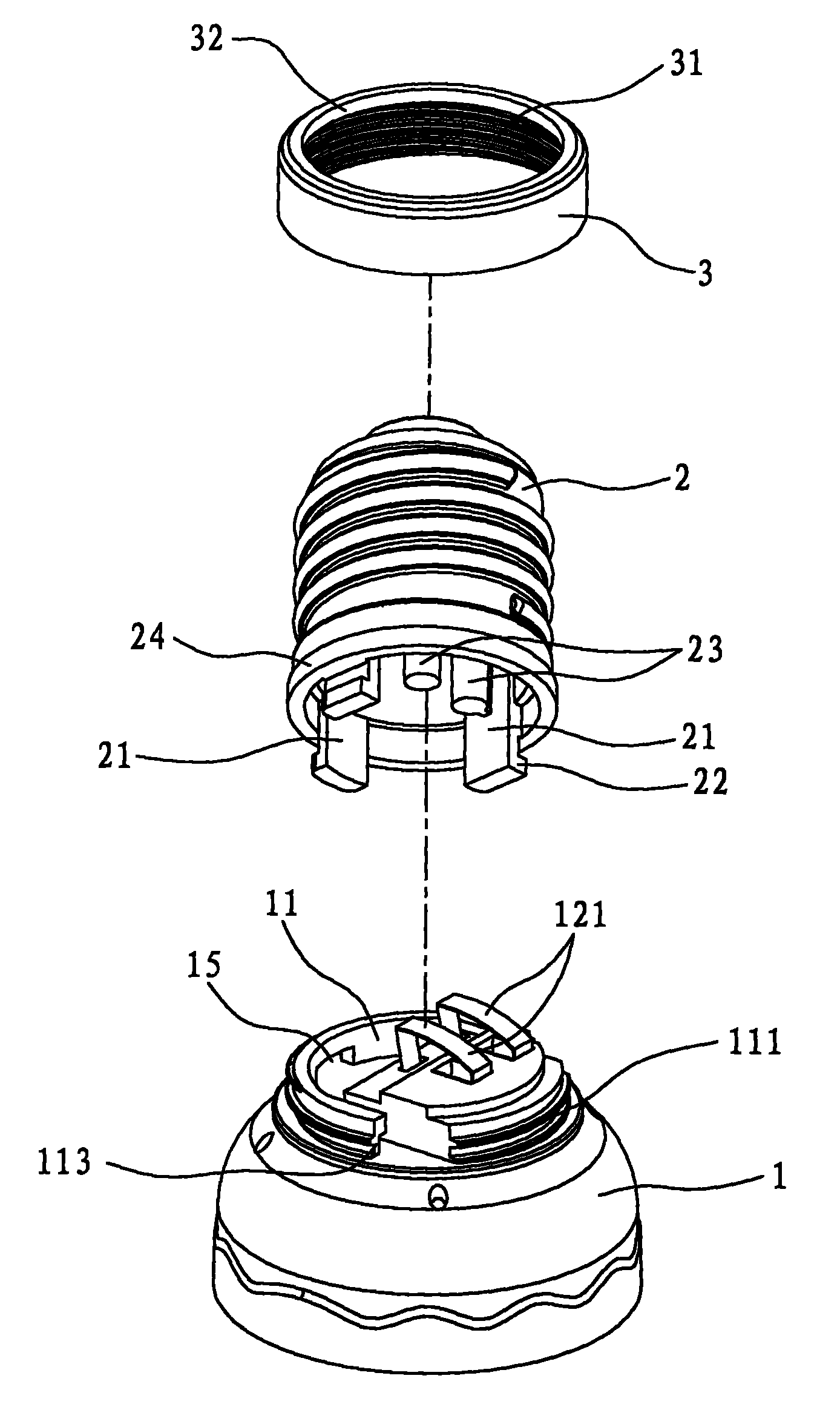
一种便于拆装的头灯结构的制作方法
图片尺寸1000x588
一种头灯的制作方法
图片尺寸1000x843
一种用于医疗外科手术的头灯的制作方法
图片尺寸444x390
一种汽车前大灯灯头结构的制作方法
图片尺寸443x336
伸缩头灯的制作方法
图片尺寸1000x871