夹子力臂示意图

用力摁住c点即可打开夹子,请在乙图杠杆abc上画出:动力f1的力臂l1和
图片尺寸1258x1225
(1)用夹子夹住物体时(如图1),画出动力臂和对应的阻力的示意图
图片尺寸437x152
夹子夹物体的杠杆示意如何?
图片尺寸748x479
【聚焦中考】2017中考物理(辽宁地区)总复习考点跟踪
图片尺寸628x737
力臂的作图专项训练
图片尺寸920x1302
解答:解:用手捏开夹子时,夹子的手柄部分比较长,在使用的过程中动力臂
图片尺寸148x97
bc=30cm,要使曲杆在图示位置平衡,请作出最小的力f的示意图及其力臂l
图片尺寸361x207
初中物理力臂怎么画?
图片尺寸600x404
喻伯军名师工作室
图片尺寸419x273
弹性钢圈对夹子的阻力,请在图中画出作用在a点的最小动力f1及其力臂l1
图片尺寸810x700
f1表示手对钓鱼竿的作用力.请在图中画出鱼线对钓鱼竿拉力f2的力臂l2.
图片尺寸630x449
台湾嘉手快速夹具.垂直式gh-101-h.夹持力450kg
图片尺寸413x316
③从支点向力的作用线作垂线,支点到垂足的距离就是力臂.
图片尺寸401x283
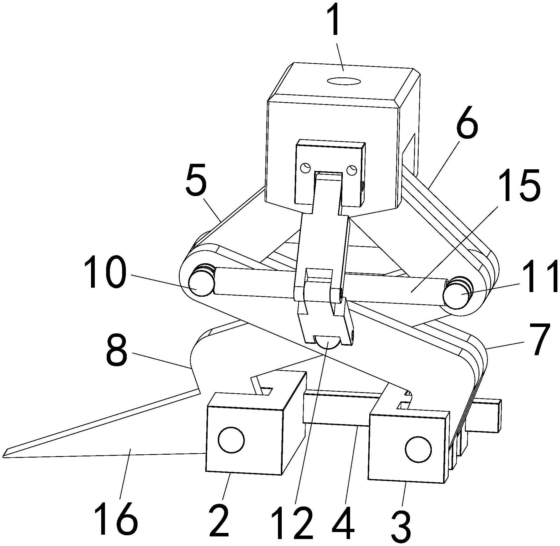
一种自重力工装夹具
图片尺寸1926x1877
如图 到底杠杆abc的支点是b还是c 求高人给个明确回
图片尺寸152x95
那个属于费力杠杆 钳子,瓶盖起子,面包夹子,剪指刀
图片尺寸500x313
如图所示画出物体b所受重力的示意图和力f的力臂
图片尺寸293x293
力臂是指该力到支点的垂直距离.
图片尺寸474x505
第三节 工件在夹具中的夹紧ppt
图片尺寸1080x810
经典画杠杆力臂1
图片尺寸270x288