夹持机构简图

一种新型电容器夹持机构的制作方法
图片尺寸1000x731
cn212578362u_一种水龙头加工用便于操作的夹持装置
图片尺寸1913x1246
cn107127285a_应用于冷镦机的物料夹持装置有效
图片尺寸2108x1832
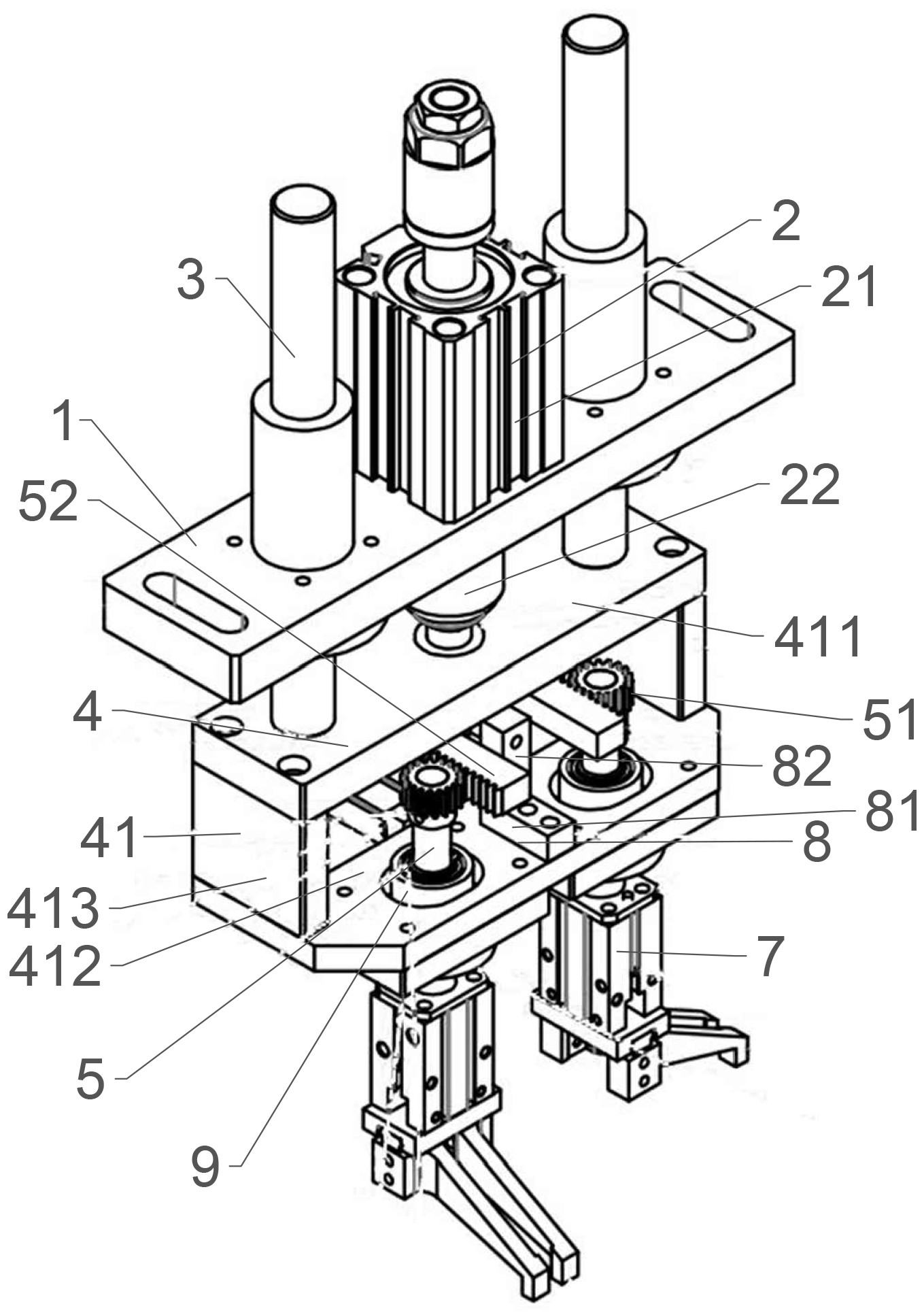
cn213439731u_一种新型口罩机夹持机构有效
图片尺寸1359x1933
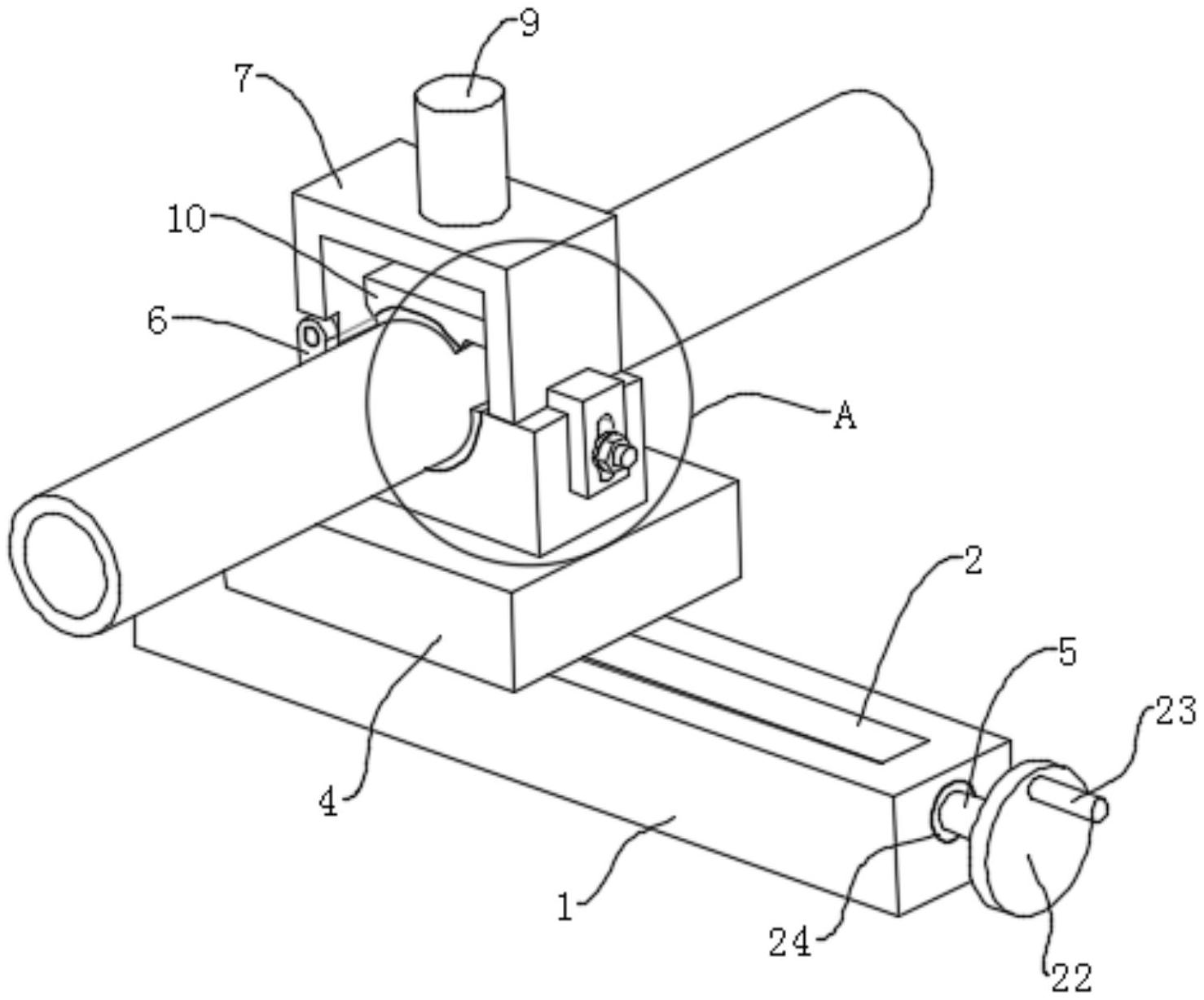
一种圆管焊接夹持装置
图片尺寸1837x1544
一种基于电气自动化的自动线夹持机构的制作方法
图片尺寸887x1000
一种圆管定心快速夹持机构
图片尺寸1992x1859
用于棒状物料夹持的机械手夹持器
图片尺寸1780x1793
一种夹持机构
图片尺寸1596x1335
cn101704436a_全自动废弃物回收处理装置的夹持机构失效
图片尺寸1408x1015
cn101396779a_焊枪夹持摆动机构有效
图片尺寸1656x2409
一种电池夹持机构制造技术
图片尺寸740x1000
cn213163952u_一种不锈钢管夹持机构
图片尺寸1478x1227
一种夹持装置
图片尺寸1637x1644
一种用于搪锡机器人的通用夹持装置
图片尺寸1832x959
工件夹持机构
图片尺寸607x633
一种柔性夹持装置
图片尺寸1000x1000
机器人常见末端夹持机构大全
图片尺寸398x317
乘用车内拉杆装配用防脱形夹持机构
图片尺寸1930x1833
一种点数包装机用夹持送料机构制造技术
图片尺寸1000x996