夹码枪零件图

斯通纳63发展过程 ——〖枪炮世界
图片尺寸600x373
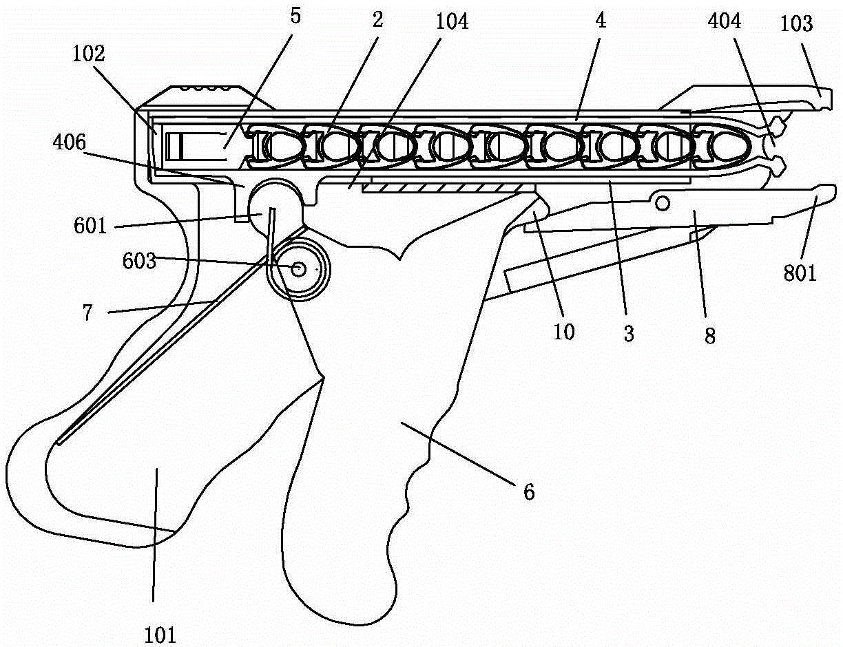
cn101843512a_一种头皮夹枪有效
图片尺寸1222x950
施韵令气钉枪夹码枪沙发弹簧床网固定夹合枪 夹码枪m45
图片尺寸800x800
一种头皮夹枪
图片尺寸1224x940
一种吊牌枪
图片尺寸496x416
socialite名士am66t夹码枪床网枪汽车座垫枪沙发枪宠物笼夹码枪
图片尺寸600x600
20响驳壳枪红军用7支盒子炮突破1700名马家军骑兵包围3
图片尺寸950x965
美特m66b夹码枪
图片尺寸1192x1192
锐力马sm66tam66tam66t气动夹码枪夹合枪扣笼钉枪床垫床网扎笼枪
图片尺寸800x800
【明晖 】啄木鸟wo-m88m夹码枪 打狗笼 宠物笼枪 厂家直销
图片尺寸7698x3413
啄木鸟m66气动夹码枪床网枪狗笼枪枪坐垫沙发枪m45m46地笼网配件
图片尺寸600x600
东亚m66气动夹码枪 m66棕毯钉床垫床网汽车坐垫 m66夹码钉枪
图片尺寸732x732
气动钉枪m66夹码枪m46地笼枪组笼枪床垫坐垫枪夹合枪床网扣笼钉枪
图片尺寸600x744
美特p88u气动棕垫枪气动c型夹码枪棕垫片枪 毛毯坐垫沙发床垫钉枪
图片尺寸800x800
美特m66气动夹码枪 啄木鸟m66 m46棕毯钉床垫床网汽车坐垫 夹码
图片尺寸800x800
直销台湾夹码枪m66 钉枪气动夹合枪床垫宠物笼工具气动工具
图片尺寸780x585
cn104457406a_可重构的玩具枪有效
图片尺寸1000x897
全国包邮气动m66 m46 m45气动夹码枪 夹合枪 扣笼枪 床垫床网
图片尺寸800x800
原装美特sc7c气动c型钉枪 夹码枪 扣布枪 鸟笼枪 小c型枪
图片尺寸800x800
正宗meite美特sc7c气动c型钉枪 夹码枪 扣布枪 鸟笼枪c型枪4.7mm
图片尺寸800x800