夹轨器工作原理

门式起重机自动夹轨器原理及使用
图片尺寸920x1303
行车防风缓冲手动夹轨器 起重防风驻刹装置 电动液压防爬铁楔.
图片尺寸560x541
一种电动弹簧顶推夹轨器-爱企查
图片尺寸575x799
夹轨器
图片尺寸633x309
门式起重机夹轨器构成及工作原理
图片尺寸473x278
门式起重机夹轨器工作原理
图片尺寸500x411
一种机械式夹轨器
图片尺寸1000x786
一种简易夹轨器的制作方法
图片尺寸1000x979
一种门式起重机安全夹轨器的制作方法
图片尺寸644x605
门式起重机自动夹轨器
图片尺寸210x160
门式起重机自动夹轨器
图片尺寸287x230
卸料车电动夹轨器-爱企查
图片尺寸3358x3332
cn112078623a_一种简易夹轨器在审
图片尺寸1593x1561
yjgq型液压夹轨器
图片尺寸584x276
一种撬杠式手动夹轨器的制作方法
图片尺寸501x356
一种滑移轨道铺设用夹轨器的制作方法
图片尺寸706x1000
一种用于夹轨器的自锁装置制造方法及图纸
图片尺寸956x1000
一种轨道自适应的液压夹轨器
图片尺寸2771x1568
一种用于夹持轨道小车的手动夹轨器的制作方法
图片尺寸302x443
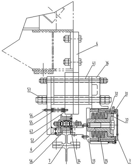
用于卸料车的夹轨器及包含该夹轨器的卸料车
图片尺寸447x557