套管升降结构

一种升降式套管机热缩装置-爱企查
图片尺寸422x447
一种淋浴用管中套管的升降管的制作方法
图片尺寸912x1000
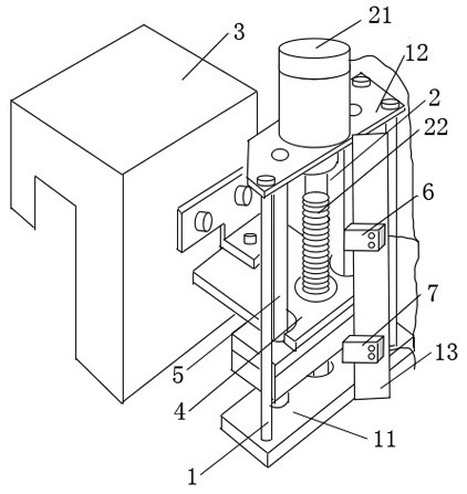
一种石油油套管接箍生产专用的升降装置的制作方法
图片尺寸1000x631
本实用新型涉及升降装置领域,尤其涉及一种多段式伸缩套管提升装置.
图片尺寸646x1000
cn107128852a_一种升降套管结构失效
图片尺寸1429x1119
一种变压器套管升高座的制作方法
图片尺寸321x443
cn112797276a_一种两节套筒伸缩式升降装置在审
图片尺寸1233x2626
一种钢管托架升降装置的制作方法
图片尺寸414x495
一种电力变压器高压套管升高座的制作方法
图片尺寸418x443
cn2345825y_节能型套管伸缩器失效
图片尺寸2784x1984
套管组件及其应用的升降立柱的制作方法
图片尺寸1000x841
升降机传动套管
图片尺寸419x362
升降舵采用扭力套管的作用是啥?
图片尺寸734x428
一种开口套管两级升降电动投影幕的制作方法
图片尺寸540x1000
涉及车用座椅升降装置,包括上支板和下支板,在上支板上固定有内套管
图片尺寸1650x2025
干式复合绝缘穿墙套管电气绝缘性能试验升降台 - cn201610467297.
图片尺寸1000x801
干式复合绝缘穿墙套管电气绝缘性能试验升降台制造技术
图片尺寸1000x801
一种可伸缩套管制造技术
图片尺寸988x2066
升降机构
图片尺寸1183x1277
一种用于生产核电热缩套管涂胶机上涂胶辊升降装置的制作方法
图片尺寸1000x619