套管式换热器结构

套管式换热器
图片尺寸784x282
管壳式换热器的机械设计(图5)
图片尺寸960x720
套管式换热器的结构
图片尺寸356x354
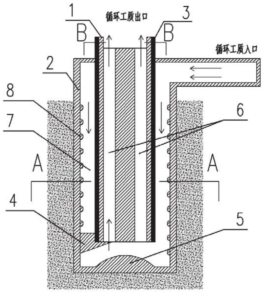
一种超高温高压套管换热器的制作方法
图片尺寸1238x2369
一种高效同轴套管换热器
图片尺寸899x1000
套管的结构组成:5,总结4,采用软件计算套管换热器3,套管换热器快速
图片尺寸640x432
一种三套管式换热器的制作方法
图片尺寸443x363
一种方便清洗的套管式换热器制造技术
图片尺寸1000x506
c) 套管式换热器
图片尺寸640x539
套管式壁挂炉的换热器结构
图片尺寸630x792
大连bem固定管板式换热器管壳换热器
图片尺寸690x349
13.夹套换热器
图片尺寸800x600
一种高效同轴套管换热器
图片尺寸1070x1189
浮头式换热器浮头端结构由圆筒,外头盖侧法兰,浮头管板,钩圈,浮头盖
图片尺寸501x383
套管式换热器与沉浸式蛇管换热器相比,喷淋式蛇管换热器具有检修清理
图片尺寸461x334
一种夹套式换热器-爱企查
图片尺寸699x1773
6,固定管板式换热器四, 塔设备1,板式精馏塔2,填料吸收塔3,填料萃取塔
图片尺寸402x246
各类换热器及适用
图片尺寸465x258
套管换热器
图片尺寸1888x1453
换热器套管式换热器蓄热室原理浴室温水加热单程列管式换热器单壳双管
图片尺寸402x261