套管针结构

一种套管针的制作方法
图片尺寸969x583
静脉留置针的应用与维护
图片尺寸780x584
智象浮针一次性使用皮下套管针灸针浮针疗法针具2468代汉医 zxfz中号
图片尺寸790x1257
一种透析专用的动静脉套管针的制作方法
图片尺寸333x443
cn107789701a_一种具有多路输液通道的安全型医用套管针在审
图片尺寸1504x944
回抽部件可脱落的安全型医用套管针制造技术
图片尺寸1000x967
一种腹腔镜肝切除手术用套管穿刺针
图片尺寸1000x703
一种防刺伤的医用留置套管针的制作方法
图片尺寸1000x827
一种囊肿穿刺套管针的制作方法
图片尺寸781x1000
cn101181653a_套管针有效
图片尺寸1280x1908
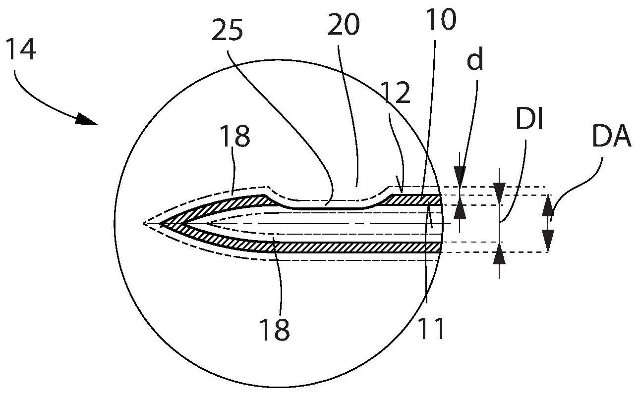
套管针尤其是用于腰椎穿刺和注射的套管针及其制造方法
图片尺寸1287x798
一种腹腔镜肝切除手术用套管穿刺针的制作方法
图片尺寸1000x703
具有回抽引导结构的安全型医用套管针及静脉输液针
图片尺寸1664x831
一种用于张力性气胸的穿刺套管针
图片尺寸2710x1524
具有回抽引导结构的安全型医用套管针及静脉输液针制造技术
图片尺寸1000x501
cn201353363y_一次性胸腹腔穿刺套管针失效
图片尺寸1604x737
又称套管针,是钢质针芯,软外套管及塑料针座,无针接头组成.
图片尺寸620x479
注射器针头安全套管的制作方法
图片尺寸927x1000
一种新型输液用套管针的制作方法
图片尺寸1000x787
一种神经内科动脉套管针的制作方法
图片尺寸443x329