套管针结构图

套管针尤其是用于腰椎穿刺和注射的套管针及其制造方法
图片尺寸1287x798
静脉留置针的应用与维护
图片尺寸780x584
有一个针丝支撑着我小小的身体;我的结构很简单,我在儿科临床应用可是
图片尺寸514x289
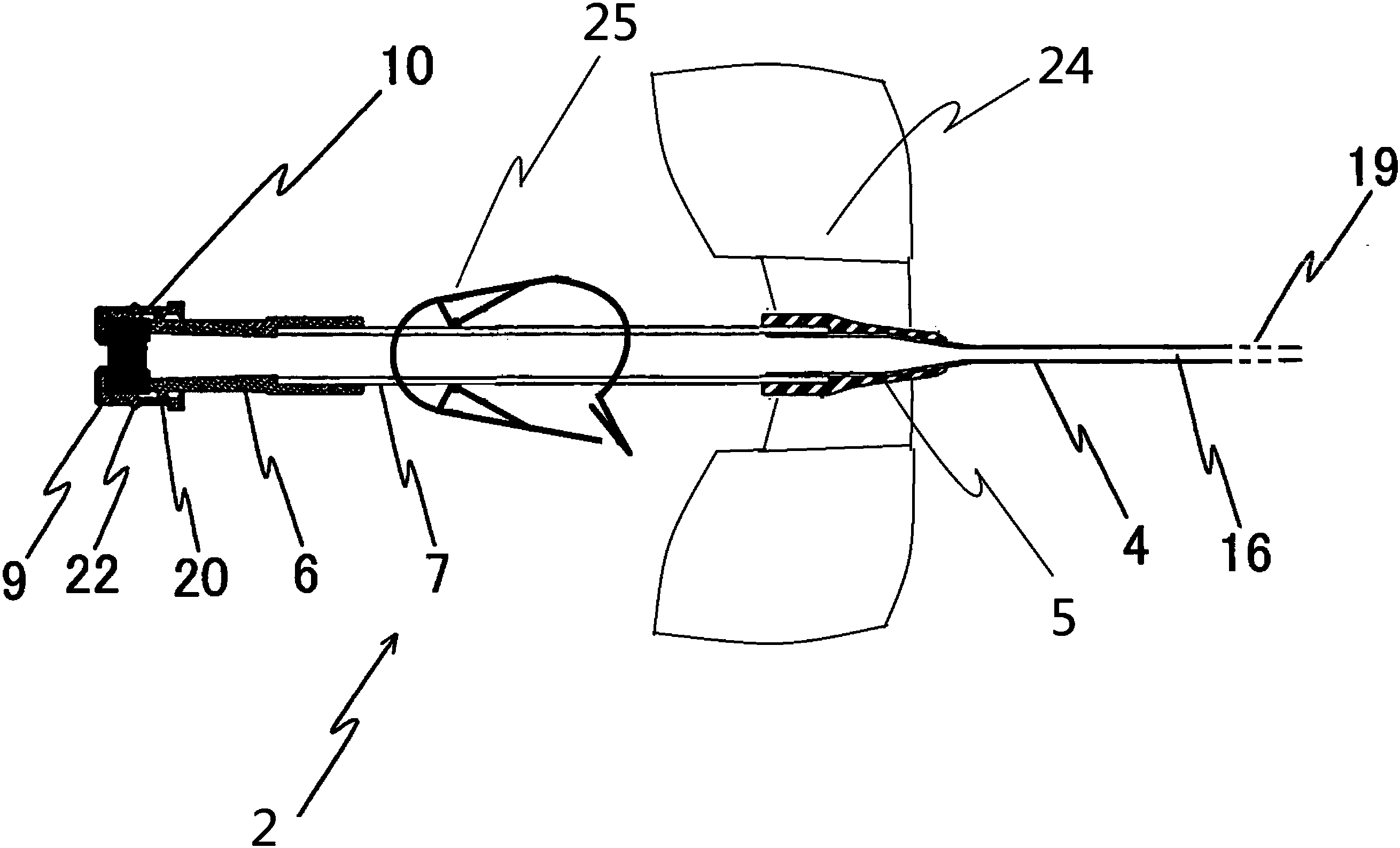
cn107789701a_一种具有多路输液通道的安全型医用套管针在审
图片尺寸1504x944
一种防刺伤的医用留置套管针的制作方法
图片尺寸1000x827
一种用于张力性气胸的穿刺套管针
图片尺寸2710x1524
什么是注射针的通畅性?
图片尺寸600x400
一种循环使用的膀胱造瘘穿刺套管针的制作方法
图片尺寸1000x519
cn109045401a_一种动静脉内瘘套管留置针在审
图片尺寸2620x1587
一种腹腔镜肝切除手术用套管穿刺针
图片尺寸1000x703
一种囊肿穿刺套管针的制作方法
图片尺寸781x1000
回抽部件可脱落的安全型医用套管针制造技术
图片尺寸1000x967
cn2870749y_开关式胸腔穿刺套管针失效
图片尺寸800x315
注射隔断式同轴套管穿刺针的制作方法
图片尺寸722x1000
一种经皮肺穿刺辅助套管针的制作方法
图片尺寸458x1000
背景技术:静脉留置针又称静脉套管针.
图片尺寸998x1000
一种安全型静脉留置针,包括:针管,针管座,套管;针管座与套管座彼此套
图片尺寸1525x968
一种带密封结构的同轴套管针的制作方法
图片尺寸443x287
一种防针刺双排气双回血防逆流套管留置输液针的制作方法
图片尺寸472x351
具有回抽引导结构的安全型医用套管针及静脉输液针
图片尺寸1664x831