女儿墙内天沟详图

天沟女儿墙节点通用大样图施工图
图片尺寸1600x1280
钢结构厂房天沟女儿墙做法.屋面采用钢丝网 保温棉 单板,墙面
图片尺寸995x819
天沟图纸构造钢筋做法,天沟图纸剖面图#盖房子 #天沟 #钢筋
图片尺寸860x1672
像这种女儿墙泛水天沟需要套定额吗怎么套求教
图片尺寸535x618
钢结构女儿墙天沟溢水口详图施工图
图片尺寸1600x1280
女儿墙内天沟怎么算
图片尺寸540x600
一种既能疏排水又能防水的女儿墙施工节点
图片尺寸787x945
女儿墙内天沟泛水,是什么意思,在工程预算书上看到的
图片尺寸450x334
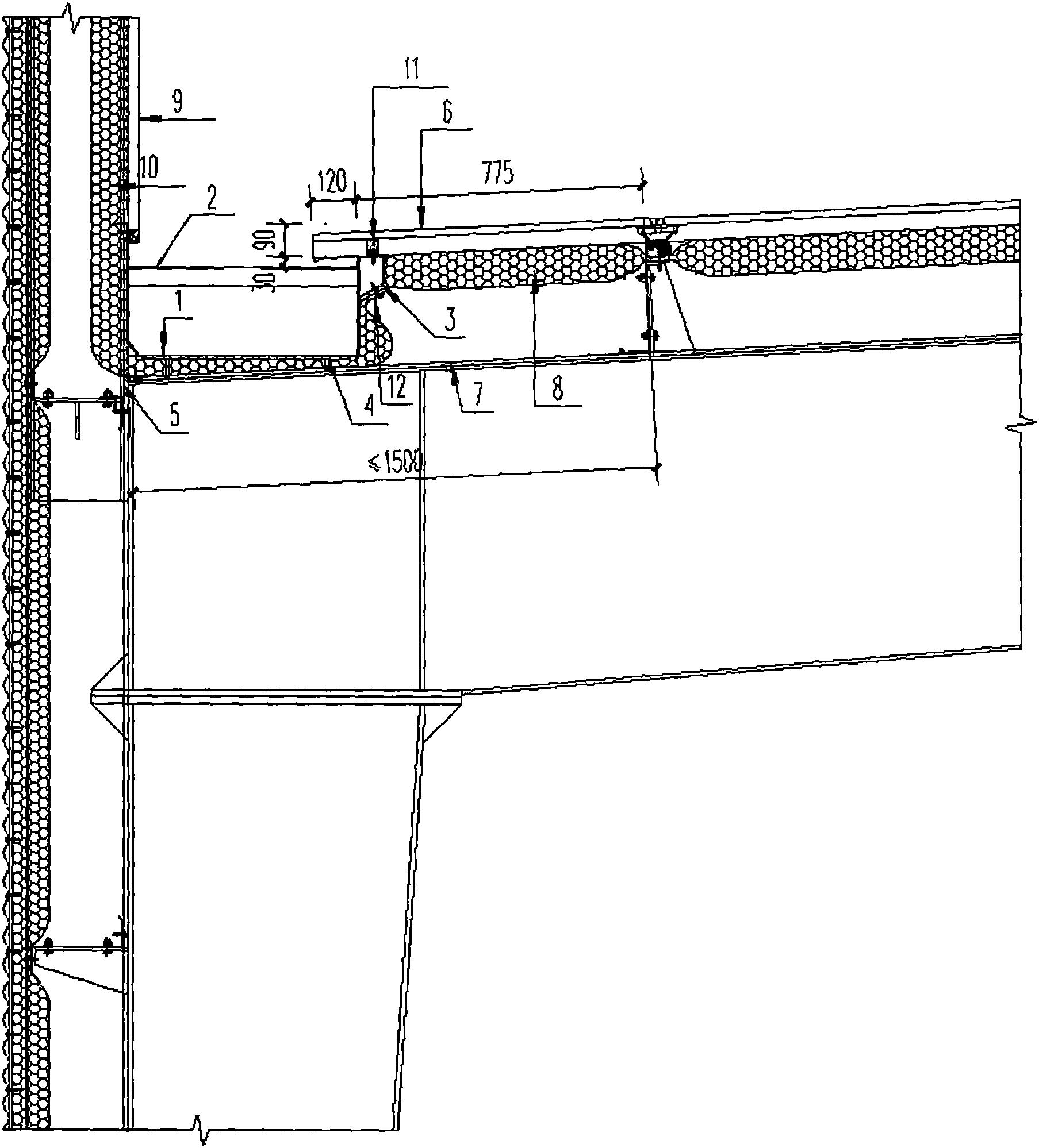
天沟女儿墙大样图
图片尺寸1020x1440
钢结构女儿墙天沟溢水口详图cad施工图设计
图片尺寸610x861
大型私建楼天沟女儿墙节点建筑设计cad施工图
图片尺寸610x861
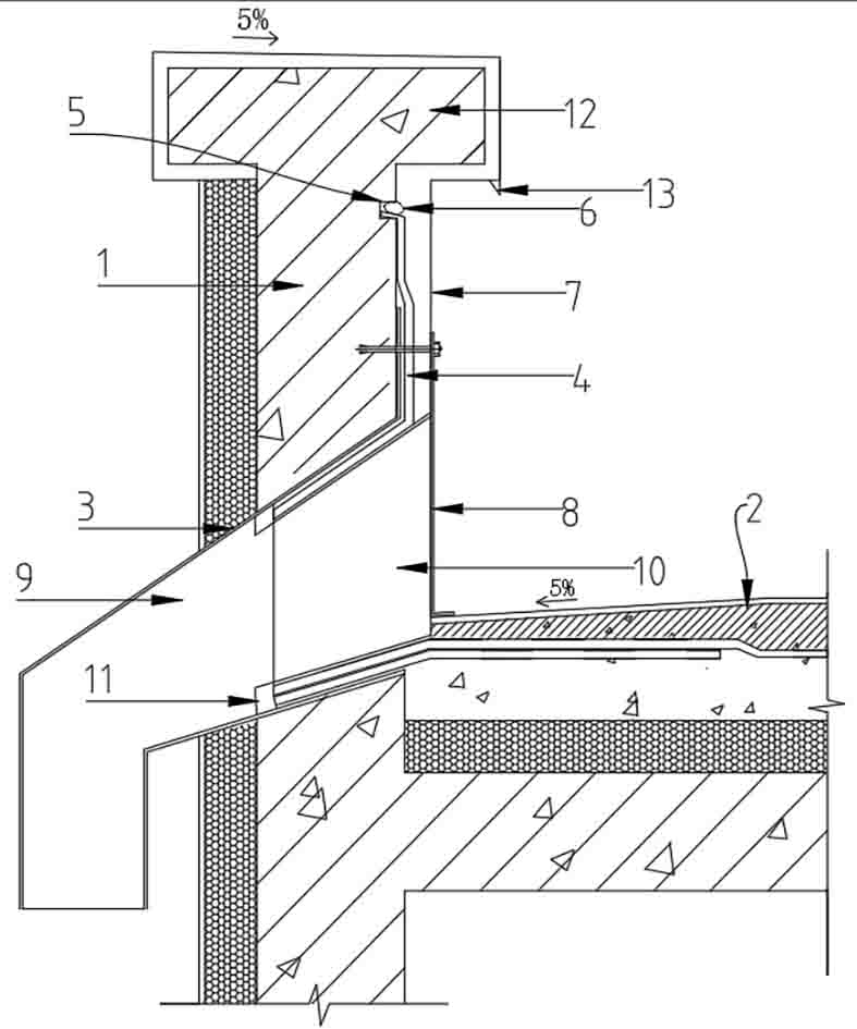
一种带内天沟的保温屋面女儿墙防水节点结构的制作方法
图片尺寸856x1000
摘要附图摘要本实用新型涉及内天沟节点构造系统,其包括竖立的女儿墙
图片尺寸1807x1998
这种女儿墙内的檐沟该怎么画
图片尺寸1242x1148
女儿墙节点施工图
图片尺寸1600x1376
女儿墙 天沟 泛水
图片尺寸560x420
建筑构造图集及质量通病治理之一:屋面女儿墙细部施工 女儿墙细部施工
图片尺寸606x478
图片尺寸1080x1409
女儿墙漏水问题全面解析:找到原因,实现防水!
图片尺寸1080x1095
杯内不应小于50mm,并应粘结牢固③女儿墙泛水处的防水层下应增设附加
图片尺寸347x266