奶瓶结构图

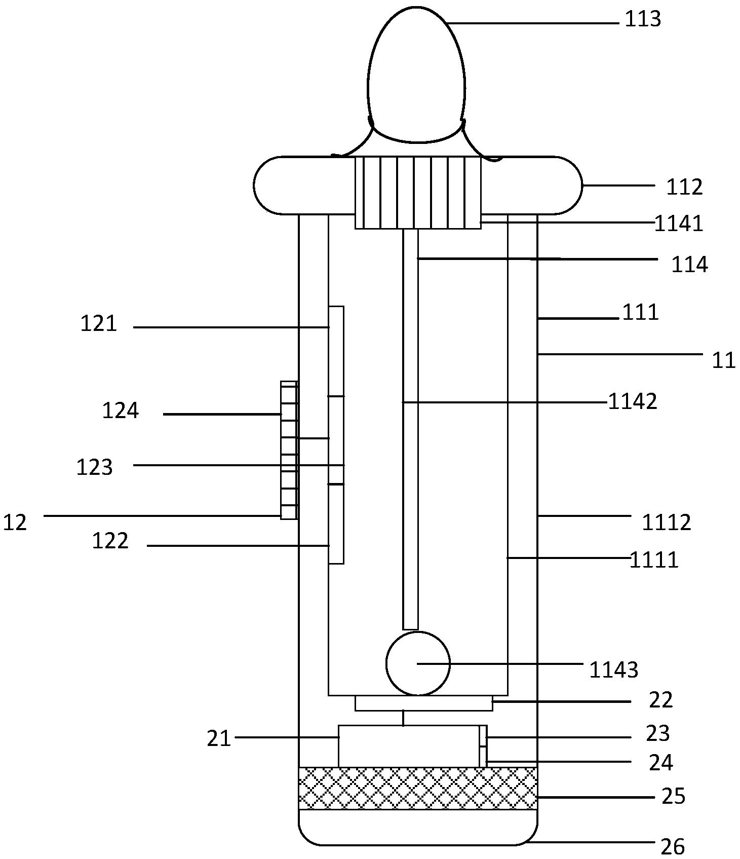
一种多功能智能奶瓶
图片尺寸1461x1695
奶瓶结构图图片
图片尺寸702x881
gb389952020婴幼儿用奶瓶和奶嘴
图片尺寸1080x1528
日康新品双层不锈钢高真空自动吸管奶瓶带十字孔奶嘴耐摔保温奶瓶
图片尺寸790x987
小狮王辛巴吸管奶瓶ppsu宽口径新生儿防呛宝宝断奶神器仿母乳超软-t
图片尺寸658x945
一种奶瓶-爱企查
图片尺寸1510x2103
一种无线充电恒温奶瓶的制作方法
图片尺寸993x1000
一种防脱胶的卫生型奶瓶-爱企查
图片尺寸1511x1957
这项婴幼儿用奶瓶和奶嘴国标今年实施宝妈们可放心啦
图片尺寸424x722
安全玻璃奶瓶
图片尺寸467x298
布朗博士 爱宝选玻璃宽口婴儿奶瓶(经典版)150ml
图片尺寸790x1221
一种改进结构的奶瓶
图片尺寸1630x1781
贝亲(pigeon) 同款新生儿婴幼儿奶瓶新生儿ppsu宝宝宽口径防摔防胀气
图片尺寸779x1181
一种外置缓冲结构防掉落损坏的不倒翁型奶瓶的制作方法
图片尺寸1000x980
一种具有提示功能的奶瓶的制作方法
图片尺寸921x1000
一种带有储存奶粉功能的奶瓶的制作方法
图片尺寸991x1000
一种带有抽真空结构的奶瓶的制作方法
图片尺寸544x1000
胖孩儿奶瓶6.0ppsu大宝宝宝新生儿弧形吸管毫升防摔奶瓶
图片尺寸857x821
一种硅胶奶瓶-爱企查
图片尺寸1010x1805
一种计时奶瓶
图片尺寸1634x2111