娃哈哈创投

创投圈有何魅力宗庆后拿下基金从业资格带着娃哈哈创投来了
图片尺寸1280x853
娃茅酒业,传美国ipo上市,宗庆后弟弟为其实控人,娃哈哈创投亦有投资
图片尺寸855x517
娃哈哈创投:niubility
图片尺寸1080x628
宗庆后卸任浙江红土创投副董事长 娃哈哈退股浙江红土创投_亿欧快讯
图片尺寸2333x1243
娃哈哈退股浙江红土创投,13年投资史宣告结束!
图片尺寸815x520
国民饮料突然爆火,网友:国货被坑惨了_营养_娃哈哈_减肥
图片尺寸1080x459
宗庆后卸任浙江红土创投副董事长 娃哈哈退股浙江红土创投_亿欧快讯
图片尺寸2369x1183
一年卖146亿瓶,"卖水"巨头要ipo了!
图片尺寸952x769
农夫山泉回应与娃哈哈有关传闻:创办系临时起意不针对任何人5月20日
图片尺寸640x154
手校办企业经销部,后推出第一款专供儿童饮用的营养品,娃哈哈从无到有
图片尺寸1000x600
宗庆后卸任浙江红土创投副董事长 娃哈哈退股浙江红土创投_亿欧快讯
图片尺寸1739x819
国民饮料突然爆火,网友:国货被坑惨了_营养_娃哈哈_减肥
图片尺寸742x740
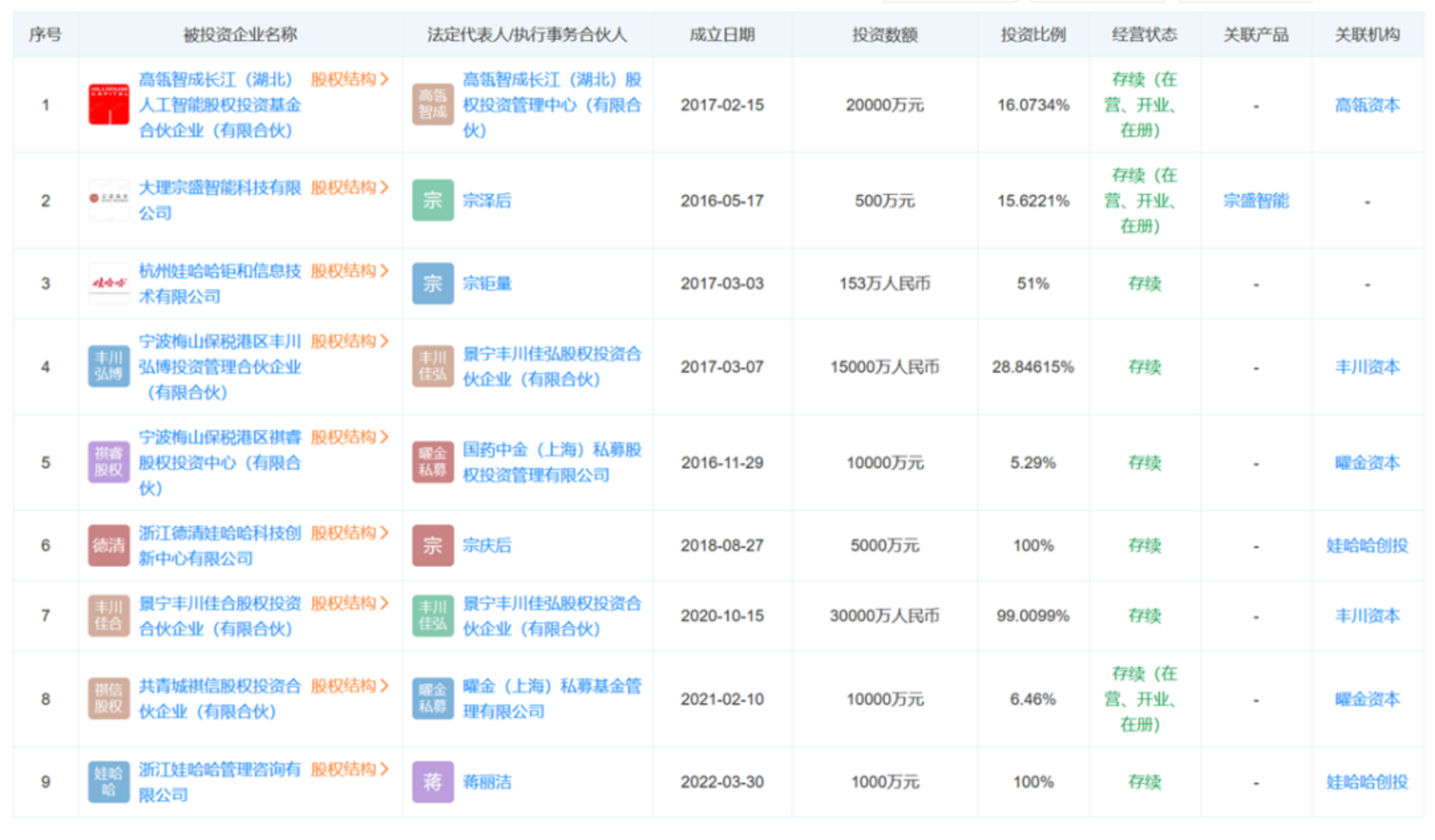
图/娃哈哈创投对外投资列表此外,宏振投资还于 2022 年投资了一家名为
图片尺寸2160x1266
国民饮料突然爆火,网友:国货被坑惨了_营养_娃哈哈_减肥
图片尺寸1080x2199
国民饮料突然爆火,网友:国货被坑惨了_营养_娃哈哈_减肥
图片尺寸1080x641
娃哈哈的轮回,投资与前路|钛媒体创投家
图片尺寸1400x932
宗庆后妻子信息曝光,结婚2年生娃,职业女性,不催促宗
图片尺寸1080x1652
娃哈哈营收降至十年最低76岁宗庆后跨界创投
图片尺寸1080x1620
国民饮料突然爆火,网友:国货被坑惨了_营养_娃哈哈_减肥
图片尺寸1080x784
国民饮料突然爆火,网友:国货被坑惨了_营养_娃哈哈_减肥
图片尺寸677x1228