存储单元电路图

cn113113064a_sram存储单元电路在审
图片尺寸1496x1131
cache就是用静态随机存储器制成的基本单元电路两个mos管串联形成nmos
图片尺寸3897x1913
ddr内存供电电路
图片尺寸1152x1290
帧存储器电路
图片尺寸1742x1128
数据存储器电路图
图片尺寸532x429
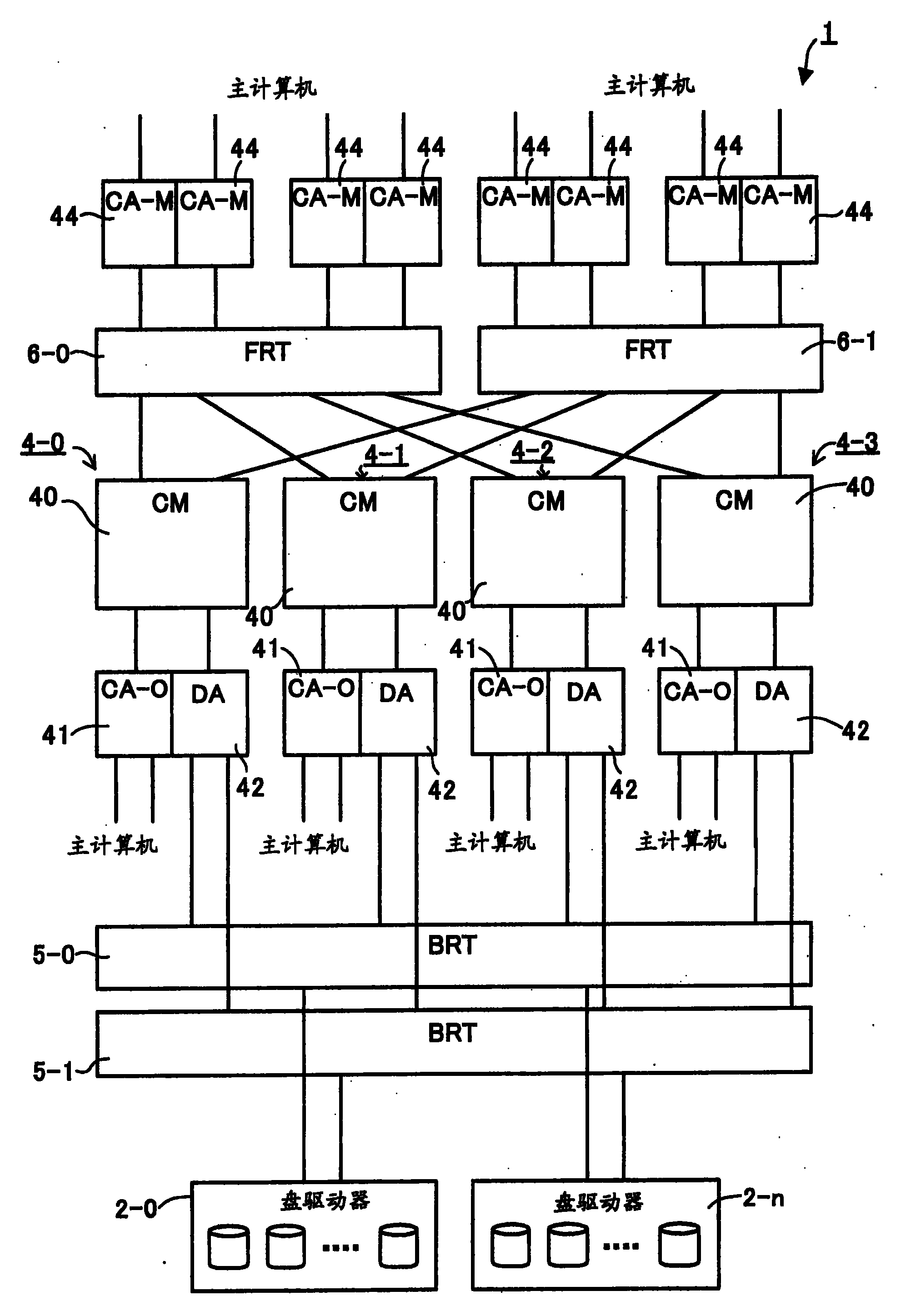
所述存储设备用于供分别支持不同协议的大型主机和开放系统单元进行
图片尺寸1982x2894
cn101529394a_存储器控制电路,存储器控制方法和集成电路有效
图片尺寸1866x2273
cn100559502c_存储器电路失效
图片尺寸1136x1025
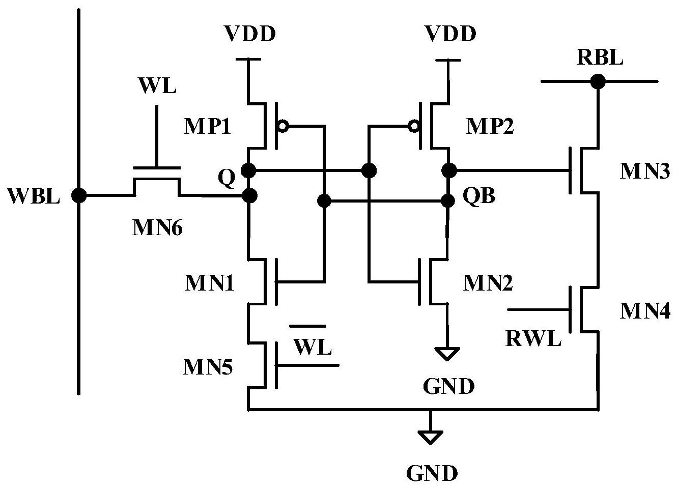
cn110277120b_一种在低压下提升读写稳定性的单端8管sram存储单元电路
图片尺寸1330x959
mcs-51单片机扩展eprom存储器2764的接口电路
图片尺寸764x457
其中上述快闪存储器包括多个存储器单元,且该多个存储器单元包括一第
图片尺寸2444x1424
存储器
图片尺寸1423x592
一种在低压下提升读写稳定性的单端8管sram存储单元电路的制作方法
图片尺寸1000x679
cn102034549a_半导体存储器单元阵列以及半导体只读存储器单元阵列
图片尺寸1968x1528
组原——④存储器2
图片尺寸569x447
一种具有高稳定性和低静态功耗的sram存储单元电路-爱企查
图片尺寸1425x950
电阻式存储器单元控制和操作的制作方法
图片尺寸1000x890
存储器接口,控制电路单元,存储装置及时脉产生方法
图片尺寸2256x1463
非易失性存储器的驱动电路
图片尺寸2601x1601
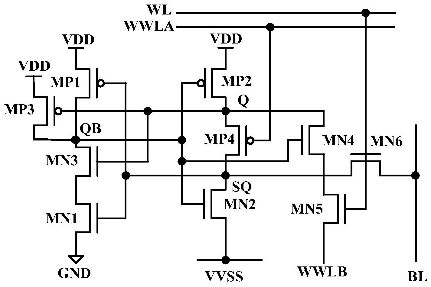
一种提高读噪声容限和写裕度的亚阈值sram存储单元电路的制作方法
图片尺寸1000x562