安全性高

产品安全性,性能高
图片尺寸1280x640
5mx宽60cm安全性高 其他 x 否
图片尺寸800x800
1k2417 安全警示标签(禁止进入)- 高性能自粘性材料,中号,直径75mm
图片尺寸800x800
球场隔离勾花网安全性高
图片尺寸500x375
新员工信息安全培训ppt
图片尺寸1080x810
领克01全域安全理念解析极力打造高安全性suv产品
图片尺寸640x376
纳催离安全性高ppt课件
图片尺寸920x518
木工学习基础教程书籍 高锯切接合件能力操作效率安全性dk木工全书
图片尺寸800x1015
卡巴匹林钙的药物特点和药理作用
图片尺寸567x459
少人会选择到银行办理存款业务,毕竟相比其他存钱方式,银行的安全性高
图片尺寸640x279
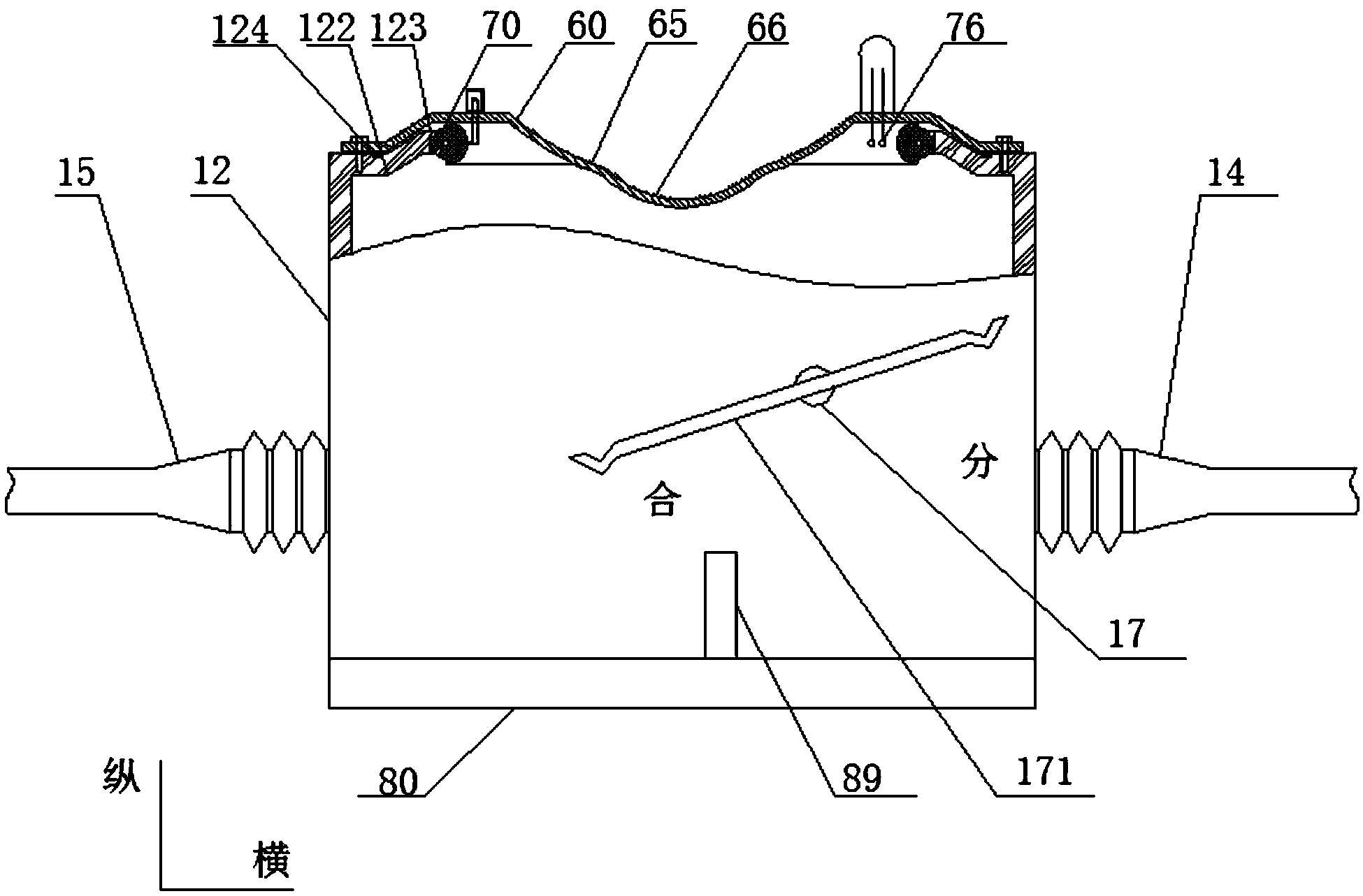
高安全性一二次融合柱上开关
图片尺寸1950x1283
专家称无人驾驶比人类驾驶安全性高n倍
图片尺寸1080x1920
套螺纹紧绷超薄水溶性套保险套男用女用高朝用品安全套套成人性用套
图片尺寸800x800
现实生活中理财产品五花八门,但真正符合安全性高,资金流动性强,而且
图片尺寸639x373
套螺纹紧绷超薄水溶性套保险套男用女用高朝用品安全套套成人性用套
图片尺寸800x800
新电池技术层出不穷!安全性更高,容量更大又一项技术取得突破!
图片尺寸640x429
智能锁vs机械锁谁更安全全方位测评智能锁安全性
图片尺寸640x480
还可以提高现场的可见性和安全性
图片尺寸640x412
套螺纹紧绷超薄水溶性套保险套男用女用高朝用品安全套套成人性用套
图片尺寸800x800
安卓vs苹果安全性谁更高?
图片尺寸1728x1080