安全气囊简笔画

一种前排乘员安全气囊-爱企查
图片尺寸1470x1167
一种汽车安全气囊-爱企查
图片尺寸1568x1520
安全气囊图标矢量隔离在白色背景, 安全气囊透明标志插画-正版商用
图片尺寸700x700
新奇骏车型辅助侧面防撞安全气囊和帘式侧面防撞安全气囊的展开条件是
图片尺寸605x500
侧面安全气囊在什么位置 侧面安全气囊使用注意事项
图片尺寸648x457
wey p8正面安全气囊在哪
图片尺寸707x500
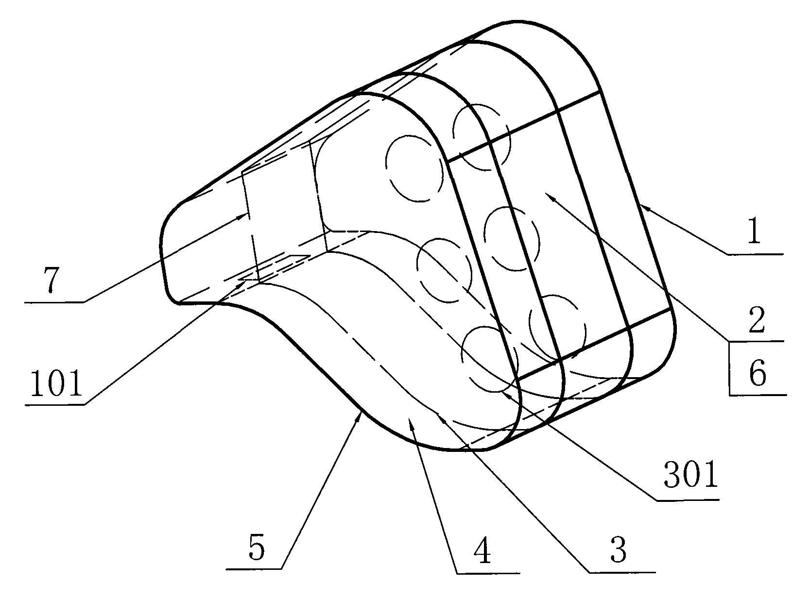
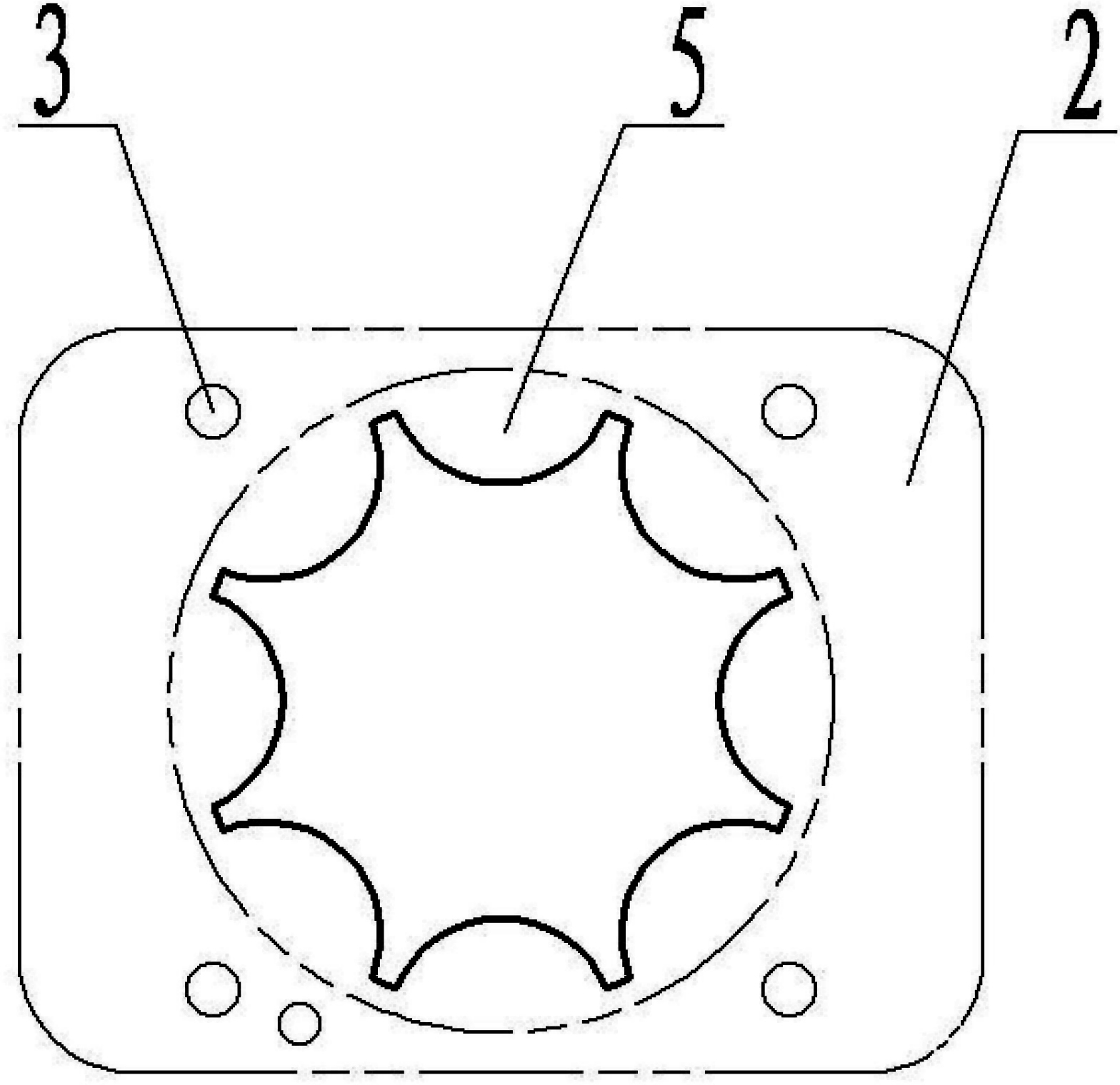
用于车辆的安全气囊装置的制作方法
图片尺寸1000x453
安全气囊系统与ppt课件
图片尺寸920x518
具有邻近后面板的延伸部的驾驶员安全气囊
图片尺寸2232x1577
包括外部收紧环的帘式安全气囊
图片尺寸1672x2140
气囊在黑色背景上的粉笔白色图标事故保护,安全预防措施人寿保险,伤害
图片尺寸1024x1024
cn110356356a_车辆安全气囊
图片尺寸2107x1523
i>方 /i> i>向 /i> i>盘 /i>安全气囊图标.
图片尺寸324x336
伤害预防驾驶席和被触发的气袋被隔绝的传染媒介例证安全气囊图标
图片尺寸1024x345
安全气囊srsppt
图片尺寸1080x810
一种真皮包覆的驾驶员安全气囊总成的制作方法
图片尺寸566x487
车辆安全气囊的制作方法
图片尺寸728x1000
安全气囊课件
图片尺寸920x518
正面保护安全气囊气袋结构-爱企查
图片尺寸1630x1232
安全气囊
图片尺寸409x274