安瓿瓶简笔画

空安瓿平图标
图片尺寸915x1200
药物安瓿图标概述在白色背景网络设计的药物一次用量的针剂传染媒介象
图片尺寸1024x1024
医用安瓿线图标
图片尺寸1100x1100
安瓿图标轮廓风格
图片尺寸1103x1100
安瓿瓶简笔画
图片尺寸374x691
注射安瓿图标轮廓样式
图片尺寸923x1200
医用安瓿载体插图孤立在白色上.安瓿轮廓风格设计,为网页和应用设计.
图片尺寸1100x1100
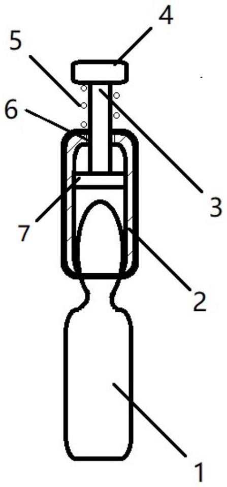
一种安全开启安瓿瓶的工具-爱企查
图片尺寸447x959
橙色医用瓶安瓿图标隔离
图片尺寸1100x1100
小安瓶简笔画简笔画瓶子的画法安瓿瓶简笔画
图片尺寸500x540
安瓿图标
图片尺寸256x256
一种医用安瓿瓶的制作方法
图片尺寸542x944
安瓿瓶简笔画
图片尺寸396x1000
一种存放甲磺酸帕珠沙星注射制剂的安瓿瓶的制作方法
图片尺寸526x1000
用于打开含物质的安瓿保护涂层的制作方法
图片尺寸394x1000
安瓿图标大纲安瓿矢量图标在白色背景上孤立的网络设计安瓿图标,轮廓
图片尺寸1024x1024
一种医院用具有防护功能的安瓿瓶开启装置的制作方法
图片尺寸741x1000
本实用新型提供一种便携易用型塑料安瓿,其结构包括瓶体,瓶颈,瓶盖,所
图片尺寸1000x760
实用新型一种存放甲磺酸帕珠沙星注射制剂的安瓿瓶授权我要购买申请
图片尺寸400x766
安瓿简笔画pc管简笔画滴加碘液简笔画啤酒瓶简笔画创意超简单的香水瓶
图片尺寸552x500