安瓿瓶结构

玻璃安瓿瓶用哪些检测仪器
图片尺寸677x510
一种医用安瓿瓶的制作方法
图片尺寸542x944
易排出的注射器式安瓿的制作方法
图片尺寸1000x838
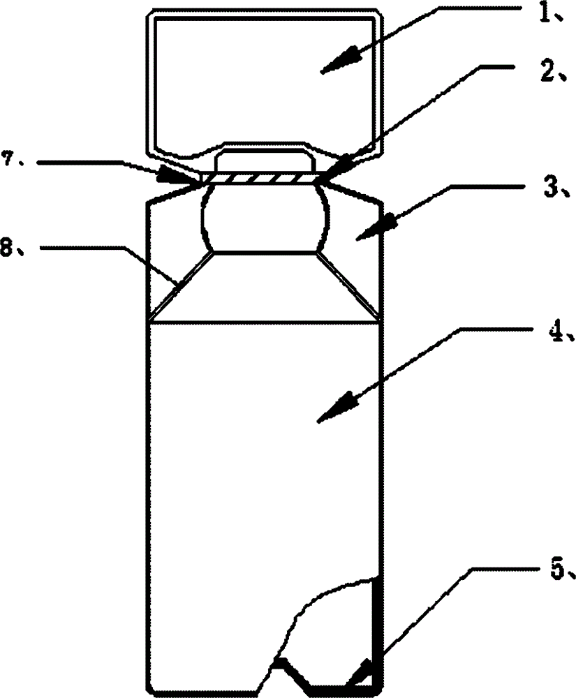
所述安瓿瓶体具有颈部和底部推压片;所述安瓿瓶体呈可压缩的风箱结构
图片尺寸590x860
保肝护肝的小容量香莲安瓿瓶的制作方法
图片尺寸1000x787
易开启易消毒塑料安瓿瓶
图片尺寸825x1000
气瓶知识安全培训ppt
图片尺寸1080x810
本实用新型提供一种便携易用型塑料安瓿,其结构包括瓶体,瓶颈,瓶盖,所
图片尺寸1000x760
cn1695588a_带混药腔的大输液塑料瓶失效
图片尺寸848x1417
真空安全瓶-爱企查
图片尺寸1312x2212
用于贵重药物的安瓿瓶
图片尺寸600x521
400ml毫升圆肩瓶肩喷雾瓶 塑料空瓶子塑料分装容器分装瓶细雾喷壶
图片尺寸750x1094
一种安瓿瓶开瓶装置的制作方法
图片尺寸882x1000
安瓿瓶灌封机
图片尺寸2555x2563
cn103264805a_一种瓶子失效
图片尺寸879x1000
2ml透明/棕色安瓿瓶 国标曲颈易折玻璃瓶 低硼硅精华液安瓶送砂轮
图片尺寸800x486
包括至少两支连成一排的塑料安瓿瓶和用于密封所述塑料安瓿瓶的铝箔袋
图片尺寸1814x1986
新乡市奥凯钢瓶有限公司
图片尺寸789x540
cn111170256b_一种安瓿瓶洗润灌封一体化装置有效
图片尺寸1948x1925
一种安瓿瓶开启装置及检测试剂包装盒的制作方法
图片尺寸496x938