安装结构

广州越辉钢结构安装工程有限公司所做的工程 - 美篇
图片尺寸640x1137
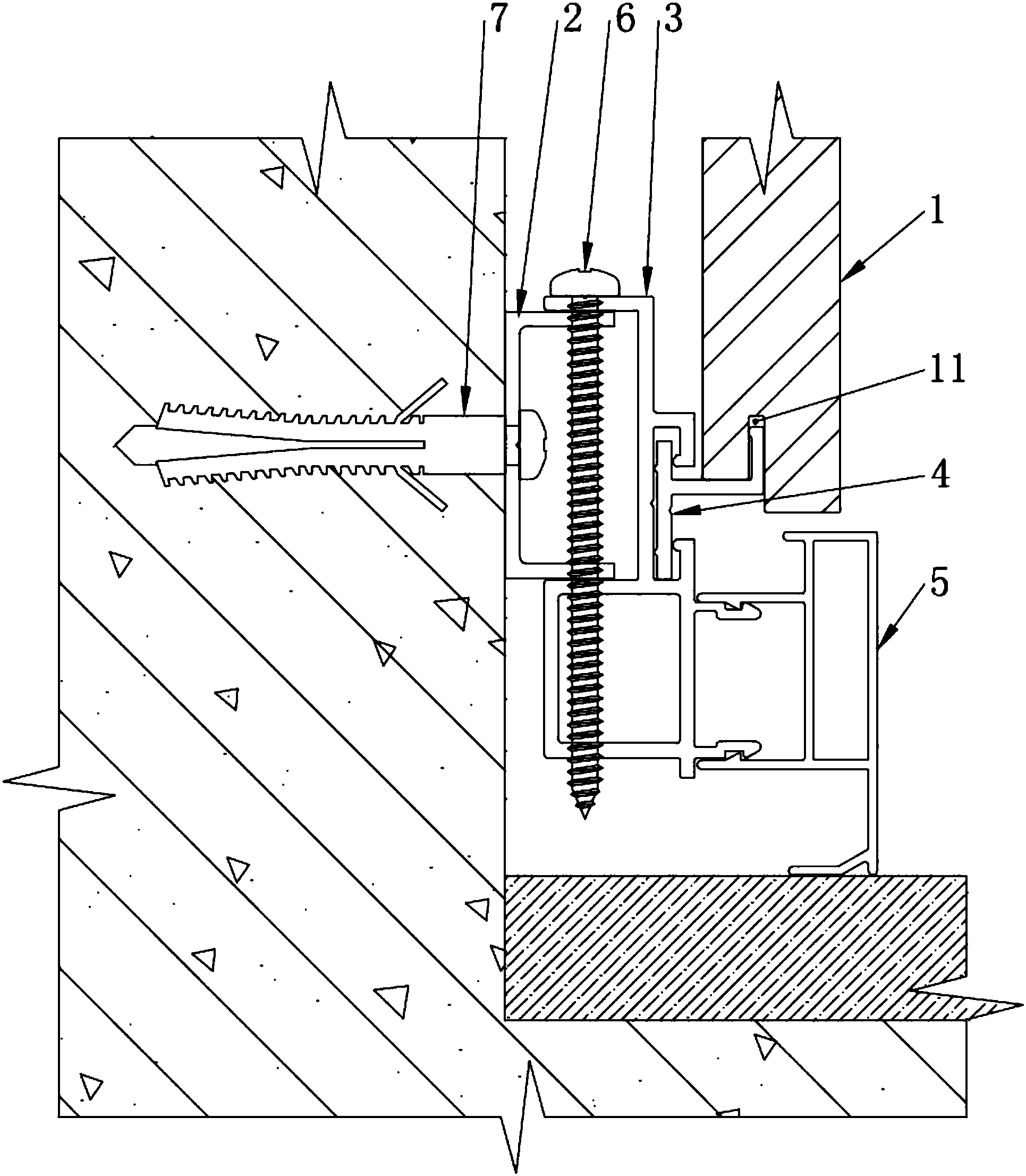
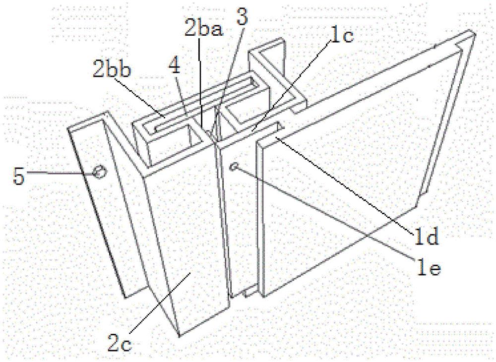
一种卡扣式的踢脚线安装结构专利_专利申请于2018-07-04_专利查询 -
图片尺寸1931x2212
青岛北站的钢结构安装图片,那是相当相当的经典的工程(一定要下载) -
图片尺寸2304x1728
轿厢的安装结构-天眼查
图片尺寸1464x2935
一种pe管用安装结构专利_专利申请于2020-05-07_专利查询 - 天眼查
图片尺寸1000x647
压块式安装结构专利_专利申请于2005-10-24_专利查询 - 天眼查
图片尺寸1456x1597
滚珠丝杆支撑座结构机安装方法_文档下载
图片尺寸628x345
吊挂式汽车备胎的安装结构专利_专利申请于20180620__
图片尺寸1930x1406
开关球阀填料失效分析与结构改进-昌晖仪表网
图片尺寸303x260
钢结构(网架结构安装)分项工程检验批质量验收记录doc下载
图片尺寸350x510
一种防爆空调外机的安装结构的制作方法
图片尺寸1000x704
一种多箱梁钢桥的安装结构及其安装方法专利_专利查询 - 天眼查
图片尺寸1000x735
一种可调节异形曲面铝板安装结构专利_专利申请于2019-06-14_专利查询
图片尺寸1000x730
上海钢结构旋转楼梯加工安装13816489858#专业生产厂 - 抖音
图片尺寸960x1920
一种轴承安装结构_cn201821824142.x_知雀网
图片尺寸1000x839
一种数控机床氮气平衡缸安装结构的制作方法
图片尺寸679x1000
一种室内铝单板吊顶三角龙骨安装结构的制作方法
图片尺寸443x330
一种插扣式芯片安装结构的制作方法
图片尺寸325x443
一种建筑幕墙立柱与建筑主体的安装调节结构专利_专利查询 - 天眼查
图片尺寸1732x1402
一种短前悬的水箱钣金框架安装结构专利_专利查询 - 天眼查
图片尺寸1000x612