定块机构

757575定块757575导杆滑块757575单销槽轮机构75
图片尺寸360x279
04205定块机构
图片尺寸250x680
5 绘制机构简图 解: c b 3 2 1 a 4 定块机构 题3.
图片尺寸500x375
摇块机构 定块机构 机械设计基础 第2版 7-111-08516-7 张久成
图片尺寸1080x810
757575导杆滑块757575单销槽轮机构757575单动式
图片尺寸634x487
油缸抽芯之前模滑块机构
图片尺寸770x696
是定块机构么 分享到
图片尺寸256x325
非标自动化设计:对中定位机构的工作原理及其直线导轨的安装
图片尺寸1280x720
定心夹具
图片尺寸1719x903
定位块
图片尺寸785x421
曲柄滑块机构在ansysworkbench里的简单实现
图片尺寸671x429
2,摇块机构 取曲柄滑块 机构中的连 杆作机架 (原滑块转 化为摇块) 化
图片尺寸1080x810
油缸抽芯之前模滑块机构
图片尺寸804x868
曲柄滑块机构_19(曲柄滑块双锁定机构)(欢迎分享,欢迎白嫖)
图片尺寸640x360
直观机械动图,聊聊楔块滑块机构的工作原理
图片尺寸468x480
定位夹紧机构设计
图片尺寸375x610
曲柄滑块机构演化实例 b a 曲柄摇块机构(连杆作机架) b a
图片尺寸1080x810
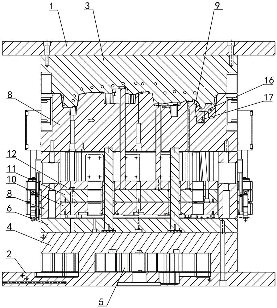
汽车门板装饰件注塑模具零断差顶块机构,包括定模复板和定模板,动模复
图片尺寸898x1000
调整行程位置的曲柄滑块机构1 slider-crank mechanism for adjusting
图片尺寸474x480
自动上料定位夹紧机构
图片尺寸820x615