实木地板施工图

装饰工程——实木地板铺设施工工艺
图片尺寸1145x1080
木地板如何铺设.一图带你了解.#专业的事交给专业的人 #支持 - 抖音
图片尺寸828x1097
木地板铺装的4种方式你都知道吗
图片尺寸1080x729
实木地板安装节点图
图片尺寸647x484
木地板铺装的4种方式你都知道吗
图片尺寸798x459
木地板铺装的4种方式你都知道吗
图片尺寸790x543
木地板铺装的4种方式你都知道吗
图片尺寸1000x1728
粘结力高,抗流挂性强,耐久性等功能,可以提高施工质量以及施工效率,必
图片尺寸771x611
木地板上墙的施工做法
图片尺寸712x597
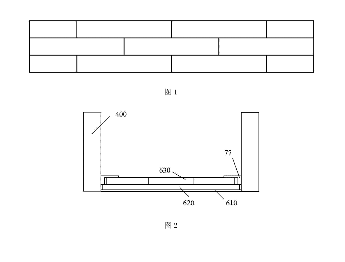
将实木地板应用到地热环境的方法及实木地板铺装结构
图片尺寸1114x846
木地板铺装做法详图
图片尺寸610x432
龙骨铺装法,又被称为木格栅法或木框架法,是实木地板常用的铺设方法
图片尺寸640x462
现代木地板施工图下载
图片尺寸4574x2453
木地板铺装的4种方式你都知道吗
图片尺寸1080x956
木地板铺装施工工艺 - 文稿网
图片尺寸1110x633
打卡大样图12实木地板方管架空
图片尺寸1080x540
精装修施工之木地板,地砖
图片尺寸640x495
椿申实木复合地板5506
图片尺寸750x508
实木地板节点图
图片尺寸424x317
室外木地板做法
图片尺寸1280x904